Retired Document
Important: This document may not represent best practices for current development. Links to downloads and other resources may no longer be valid.
Architecture
This chapter describes the architecture of the PowerBook G4 –12 inch computer.
Block Diagram and Buses
This section is an overview of the major ICs and buses on the computer’s main logic board.
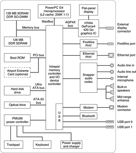
Block Diagram
Figure 2-1 is a simplified block diagram of the main logic board. The diagram shows the input and output connectors, the main ICs, and the buses that connect them together.

Main ICs and Buses
The architecture of the PowerBook G4 –12 inch computer is designed around the PowerPC G4 microprocessor and the custom Intrepid memory and I/O controller. The Intrepid IC occupies the center of the block diagram.
The microprocessor is connected to the Intrepid IC by a MaxBus with 64 data lines and a bus clock speed of 133 MHz. The Intrepid IC has other buses that connect with the Boot ROM, the main system RAM, the graphics IC, and the Ethernet and FireWire PHY ICs. Each of the components listed here is described in one of the following sections. The buses implemented by the Intrepid IC are summarized in Table 2-1, which is in the section Intrepid Memory and I/O Device Controller.
Microprocessor and Cache
The microprocessor communicates with the rest of the system by way of a 133 MHz, 64-bit MaxBus to the Intrepid IC. The backside cache is built into the microprocessor.
Power PC G4 Microprocessor
The microprocessor used in the PowerBook G4 –12 inch computer is a PowerPC G4. It has several features that contribute to superior performance, including:
on-chip level 1 (L1) caches, 32 KB each for instruction cache and data cache
an on-chip second level (L2) cache consisting of 256 KB with a clock speed ratio of 1:1
a microprocessor core optimized for Mac OS applications
32-bit PowerPC implementation
superscalar PowerPC core
Velocity Engine (AltiVec technology): 128-bit-wide vector execution unit
high bandwidth MaxBus with 36 address bits and 64 data bits
The G4 microprocessor in the PowerBook G4 –12 inch computer normally runs at a clock speed of 867 MHz. The power saving feature slows the CPU clock speed to save power when the computer is idle. See Power Saving.
L2 Cache
The data storage for the L2 cache consists of 256 KB of fast static RAM that is built into the microprocessor chip along with the cache controller. The built-in L2 cache runs at the same clock speed as the microprocessor.
Intrepid Memory and I/O Device Controller
The Intrepid memory and I/O device controller IC provides cost and performance benefits by combining many functions into a single IC. It also contains the PCI bus bridge, the Ethernet and FireWire interfaces, and the AGP port.
In addition to the buses listed in Table 2-1, the Intrepid IC also has separate interfaces to the physical layer (PHY) ICs for Ethernet and FireWire and an I2C interface that is used for configuring the memory subsystem.
The Intrepid IC provides DB-DMA (descriptor-based direct memory access) support for the I/O channels. The DB-DMA system provides a scatter-gather process based on memory resident data structures that describe the data transfers. The DMA engine is enhanced to allow bursting of data files for improved performance.
The microprocessor is described in its own section. The following sections describe the other subsystems that are connected to the Intrepid IC.
System RAM
The memory subsystem in the PowerBook G4 –12 inch computer consists of 128 MB of DDR266B (PC2100) SDRAM soldered on the main logic board and a 128 MB DDR SO-DIMM in the expansion slot for a total of 256 MB of system RAM.
The data bus to the RAM and SO-DIMM is 64 bits wide, and the memory interface is synchronized to the MaxBus interface at 133 MHz. See also RAM Expansion.
Boot ROM
The boot ROM includes the hardware-specific code and tables needed to start up the computer, to load an operating system, and to provide common hardware access services.
The boot ROM is connected to the PCI interface of the Intrepid IC. The boot ROM is a 1 M by 8 bit flash device and can be updated in the field.
Ethernet Controller
The Intrepid IC includes an Ethernet media access controller (MAC) that implements the link layer. As a separate channel connected directly to the Intrepid logic, it can operate at its full capacity without degrading the performance of other peripheral devices. The Intrepid IC provides DB-DMA support for the Ethernet interface.
The controller is connected to a PHY interface IC that is capable of operating in either 10-BaseT or 100-BaseT mode. The actual speed of the link is automatically negotiated by the PHY and the bridge or router to which it is connected. For information about the connector and the operation of the port, see Ethernet Port.
FireWire Controller
The Intrepid IC includes an IEEE 1394a FireWire 400 controller with a maximum data rate of 400 Mbps (50MBps). The Intrepid IC provides DMA (direct memory access) support for the FireWire interface. The FireWire 400 controller complies with the Open Host Controller Interface (OHCI) specification.
The controller IC implements the FireWire link layer. A physical layer IC, called a PHY, implements the electrical signalling protocol of the FireWire interface. The PHY is the interface to the external connector. For information about the connector and the operation of the port, see FireWire 400 Port.
Graphics IC
The graphics IC is an nVidia GeForce4 420 Go with 32 MB of graphics DDR SDRAM. It provides video for both the internal flat panel display and an external video display. The signals to the external display can be either VGA, composite video, or S-video; for more information, seeExternal Display Port.
The nVidia GeForce4 graphics IC in the PowerBook G4 –12 inch computer supports an LCD display size of 1024 by 768 pixels and also has a scaling mode that displays a 640-by-480 or 800-by-600 pixel image on the full screen.
The nVidia GeForce4 IC also has a 3D graphics engine for fast rendering of 3D objects.
The graphics IC supports the built-in flat-panel display and an external monitor. The external monitor can either mirror the built-in display or show additional desktop space (dual-display mode). For more information, see Flat-Panel Display and Dual Display and Mirror Mode.
Because the graphics IC uses the AGP bus, it can use part of main memory as additional graphics storage. The computer’s virtual memory system organizes main memory as randomly-distributed 4 KB pages, so DMA transactions for more than 4 KB of data would have to perform scatter-gather operations. To avoid this necessity for graphics storage, the AGP logic in the Intrepid IC uses a graphics address remapping table (GART) to translate a linear address space for AGP transactions into physical addresses in main memory.
ATA-33 Bus
The Intrepid IC provides an ATA-33 bus ( also referred to as an IDE, integrated drive electronics, bus) that is connected to the CD or DVD drive. The CD or DVD drive is connected as device 0 (master). Digital audio data from the CD or DVD drive is processed by the Sound Manager and then sent out through the Intrepid IC to the sound IC.
Ultra ATA-100 Bus
The Intrepid IC provides an Ultra ATA-100 channel that is connected to the internal hard disk drive. The Ultra ATA interface has a data tranfer rate of ATA-100 and is ATA-5 compatible. The Intrepid IC provides DB-DMA (descriptor-based direct memory access) support for the Ultra ATA interface. The internal hard disk drive is connected as device 0 (master) in an ATA Device 0/1 configuration.
USB Interface
The Intrepid IC implements two independent USB controllers (root hubs), each of which is connected to one of the ports on the side panel of the computer. The use of two independent controllers allows both USB ports to support high data rate devices at the same time with no degradation of their performance. If a user connects a high-speed (12 Mbps) device to one port and another high-speed device to the other, both devices can operate at their full data rates.
The external USB connectors support USB devices with data transfer rates of 1.5 Mbps and 12 Mbps. For more information, see USB Ports.
USB devices connected to the PowerBook G4 –12 inch computer are required to support USB-suspend mode as defined in the USB specification. Information about the operation of USB-suspend mode on Macintosh computers is included in the Mac OS USB DDK API Reference. To obtain that document, please see the references at USB Interface.
The USB ports on the PowerBook G4 –12 inch computer comply with the Universal Serial Bus Specification 1.1 Final Draft Revision. The USB controllers comply with the Open Host Controller Interface (OHCI) specification.
Modem Support
The internal modem is connected to an internal USB port. The Intrepid IC provides DB-DMA support for the modem interface. The modem provides digital call progress signals to the Snapper sound circuitry.
The internal modem is a separate module that contains the datapump IC and the interface to the telephone line (DAA). The controller functions are performed by the main processor. See Internal Modem.
Sound Circuitry
The PowerBook G4 –12 inch computer has sound circuitry, called Snapper, that is connected to the Intrepid IC by a standard I2S bus. The Intrepid IC provides DB-DMA (descriptor-based direct memory access) support for the I2S port.
The sound circuitry includes a signal processing IC that handles the equalization and volume control functions and a codec IC that performs A-to-D and D-to-A conversion.
All audio is handled digitally inside the computer. The Snapper circuitry performs digital-to-analog conversion for the audio signals to the three internal speakers and the headphone mini-jack. The mid-range enhancer speaker is internal to the unit and is not visible. All audio signal conditioning is done in hardware and no user-level controls exist. The Snapper circuitry also provides parametric equalization for the internal speakers.
Modem progress audio is connected as a digital input to the sound circuitry so that it can be mixed into the sound output stream. The modem progress audio is processed as play-through only, not as a digital sound source.
Stereo signals from the audio input jack are routed to an analog line input buffer that drives the internal A/D converter. For information about sound system operation, see Sound System.
Power Control IC
The power manager IC in the PowerBook G4 –12 inch computer is a Mitsubishi M16C/62F microprocessor, also called the PMU99. It operates with its own RAM and ROM. The functions of the PMU99 include:
controlling the sleep and power on and off sequences
real time clock
controlling power to the other ICs
monitoring the battery charge level
controlling battery charging
supporting the interface to the built-in keyboard and trackpad
The PowerBook G4 –12 inch computer can operate from a 15-volt power outlet on an airliner, however for safety reasons the computer will not allow battery charging. In order for the computer to detect the connection to airline power, the airline power cable should have a sense resistor of 24.3K ohms connected between the power plug's shell and ground.
The PMU99 also provides the hardware interface to the keyboard and trackpad. Software in the PMU99 IC scans the keyboard and receives data from the trackpad, then sends the data to the system in packets like those from the ADB. To the system, the keyboard and trackpad behave as if they were ADB devices.
AirPort Extreme Card
The optional 54 Mbps AirPort Extreme Card shares the card slot interface on the PCI bus with the boot ROM.
The AirPort Extreme Card contains a media access controller (MAC), a digital signal processor (DSP), and a radio-frequency (RF) section. The card has a connector for the cable to the antennas, which are built into the computer’s case.
The AirPort Extreme Card is based on the IEEE draft specification of the 802.11g standard. The card transmits and receives data at up to 54 Mbps and is compatible with 802.11b-standard 11 Mbps systems, including all previous AirPort Card systems and base stations. For information about its operation, see AirPort Extreme Card.
Copyright © 2003 Apple Computer, Inc. All Rights Reserved. Terms of Use | Privacy Policy | Updated: 2003-01-31