Retired Document
Important: This document may not represent best practices for current development. Links to downloads and other resources may no longer be valid.
Devices and Ports
This chapter describes both the built-in I/O devices and the ports for connecting external I/O devices. Each of the following sections describes an I/O port or device.
USB Ports
The PowerBook G4 computer has two external USB 1.1 ports that can be used to connect additional I/O devices such as a USB mouse, printers, scanners, and low-speed storage devices.
The USB ports on the PowerBook G4 computer comply with the Universal Serial Bus Specification 1.1 Final Draft Revision. For more information about USB on Macintosh computers, consult the references at USB Interface.
USB Connectors
The USB ports use USB Type A connectors, which have four pins each. Two of the pins are used for power and two for data. Figure 3-1 is an illustration of a Type A port and matching connector. Table 3-1 shows the pin assignments.

Pin | Signal name | Description |
|---|---|---|
1 | VCC | +5 VDC |
2 | D– | Data – |
3 | D+ | Data + |
4 | GND | Ground |
The computer provides 5-volt power at 500 mA for each of the two ports.
The USB ports support both low-speed and high-speed data transfers, at up to 1.5 Mbits per second and 12 Mbits per second, respectively. High-speed operation requires the use of shielded cables.
The PowerBook G4 computer comes with version 1.3 of the Macintosh USB system software, which supports all four data transfer types defined in the USB specification.
USB devices can provide a remote wakeup function for the computer. The USB root hub in the computer is set to support remote wakeup whenever a device is attached to the bus.
USB Storage Devices
Class drivers are software components that are able to communicate with many USB devices of a particular kind. If the appropriate class driver is present, any number of compliant devices can be plugged in and start working immediately without the need to install additional software. The Mac OS for the PowerBook G4 computer includes USB Mass Storage Support 2.0, a class driver that supports devices that meet the USB Mass Storage Class specification.
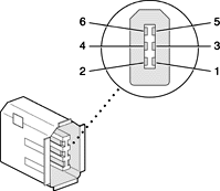
FireWire Port
The PowerBook G4 computer has one external FireWire IEEE 1394a port. The FireWire port
supports serial I/O at 100, 200, and 400 Mbps (megabits per second)
provides up to 6 watts of power when the computer system is on or when the power adapter is connected
supports booting the system from a mass storage device
supports target disk mode
The FireWire hardware and software provided with the PowerBook G4 computer are capable of all asynchronous and isochronous transfers defined by IEEE standard 1394.
FireWire Connector
The FireWire connector has six contacts, as shown in Figure 3-2. The connector pin assignments are shown in Table 3-2.

When the computer is on or the power adapter is connected, the power pin provides a maximum voltage of 17 V (no load) and up to 6 W power. Maximum current is 0.5 A and is controlled by an auto-resetting fuse.
Pin 2 of the 6-pin FireWire connector is ground for both power and the inner cable shield. If a 4-pin connector is used on the other end of the FireWire cable, its shell should be connected to the wire from pin 2.
The signal pairs are crossed in the cable itself so that pins 5 and 6 at one end of the cable connect with pins 3 and 4 at the other end. When transmitting, pins 3 and 4 carry data and pins 5 and 6 carry clock; when receiving, the reverse is true.
FireWire Device Programming
Developers of FireWire peripherals are required to provide device drivers. A driver for DV (digital video) is included in QuickTime.
The PowerBook G4 computer can boot from a FireWire storage device that implements SBP-2 (Serial Bus Protocol) with the RBC (reduced block commands) command set. Detailed information is available only under non-disclosure agreement; contact Developer Technical Support at dts@apple.com.
For additional information about the FireWire interface and the Apple API for FireWire device control, refer to the resources listed at FireWire Interface.
Target Disk Mode
One option at boot time is to put the computer into a mode of operation called target disk mode. This mode is similar to SCSI disk mode on a PowerBook computer equipped with a SCSI port, except it uses a FireWire connection instead of a special SCSI cable.
When the PowerBook G4 computer is in target disk mode and connected to another Macintosh computer by a FireWire cable, the PowerBook G4 computer operates like a FireWire mass storage device with the SBP-2 (Serial Bus Protocol) standard. Target disk mode has two primary uses:
high-speed data transfer between computers
diagnosis and repair of a corrupted internal hard drive
The PowerBook G4 computer can operate in target disk mode as long as the other computer has a FireWire port and is running either
Mac OS X (any version)
Mac OS 9 with FireWire software 2.3.3 or later
To put the computer into target disk mode, the user holds down the T key while the computer is starting up. When Open Firmware detects the T key during the boot process, it transfers control to special Open Firmware code.
To take the computer out of target disk mode, the user presses the power button.
For more information about target disk mode, see the section “Target Mode” in Technical Note TN1189, The Monster Disk Driver Technote. The note is available on the Technical Note website at
Ethernet Port
The PowerBook G4 computer has a built-in Ethernet port that supports 10Base-T, 100Base-T, and 1000Base-T transfer rates. In operation, the actual speed of the link is auto-negotiated between the computer’s PHY device and the network bridge or router to which it is connected.
The connector for the Ethernet port is an RJ-45 connector on the back of the computer. Table 3-3 shows the signals and pin assignments for 10Base-T and 100Base-T operation. Table 3-4 shows the signals and pin assignments for 1000Base-T operation.
To interconnect two computers for 1000Base-T operation, you must use 4-pair cable (Category 5 or 6).
The Ethernet port on the PowerBook G4 computer supports Auto-MDIX: It switches between MDI (Medium Dependent Interface) and MDI-X operation automatically, so it can be connected to another device by either a straight-through cable or a cross-over cable.
The Ethernet interface in the PowerBook G4 computer conforms to the ISO/IEC 802.3 specification, where applicable, and complies with IEEE specifications 802.3i (10Base-T), 802.3u-1995 (100Base-T), and 802.3ab (1000Base-T).
Internal Modem
The PowerBook G4 computer comes with a built-in modem. The connector for the modem is an RJ-11 connector on the back of the computer.
The modem has the following features:
modem bit rates up to 56 Kbps (supports K56flex and V.92 modem standards)
Group 3 fax modem bit rates up to 14.4 Kbps
The modem is connected to an internal USB port and is a vendor-specific USB device. The modem driver controls the modem hardware and presents a virtual serial port to the operating system and applications. Applications that bypass the operating system’s modem driver and communicate directly with the SCC will not work properly.
AirPort Card
The PowerBook G4 computer supports the AirPort Card, an internal wireless LAN module, which is standard on the 1 GHz model PowerBook G4 computer and optional on the 867 MHz model.
By communicating wirelessly with a base station, the AirPort Card can be used for internet access, email access, and file exchange. A base station provides the connection to the Internet or the bridge between the wireless signals and a wired LAN or both. The AirPort Base Station has connectors for a wired LAN, a DSL or cable modem, and a standard telephone line using its built-in 56k modem.
AirPort transmits and receives data at speeds up to 11 Mbps, comparable to wired networking speeds. AirPort is Wi-Fi Certified, which means it is fully compatible with other devices that follow the IEEE 802.11b standard, including PCs. For more information about Wi-Fi and compatibility, see the reference at Wireless Networks.
Data Security
AirPort has several features designed to maintain the security of the user’s data.
The system uses direct-sequence spread-spectrum (DSSS) technology that uses a multibit spreading code that effectively scrambles the data for any receiver that lacks the corresponding code.
The system can use an Access Control List of authentic network client ID values (wireless and MAC addresses) to verify each client’s identity before granting access to the network.
When communicating with a base station, AirPort uses up to 128-bit encryption to encode data while it is in transit.
The AirPort Base Station can be configured to use NAT (Network Address Translation), protecting data from Internet hackers.
The AirPort Base Station can authenticate users by their unique Ethernet IDs, preventing unauthorized computers from logging into your network. Network administrators can take advantage of RADIUS compatibility, used for authenticating users over a remote server. Smaller networks can offer the same security using a local look-up table located within the base station.
As an additional data security measure, VPN can be used in conjunction with the AirPort data security
AirPort Hardware
The AirPort Card is a wireless LAN module based on the IEEE 802.11 standard and using direct-sequence spread-spectrum (DSSS) technology. It is interoperable with PC-compatible wireless LANs that conform to the 802.11b standard and use DSSS.
Two AirPort antennas are built into the computer’s cover, on either side of the flat-panel display. One antenna is always used for transmitting. Either of the two antennas may be used for receiving. Using a diversity technique, the AirPort Card selects the antenna that gives the best reception.
AirPort Software
The AirPort Card includes software for setting up and using the card:
AirPort Setup Assistant, an easy-to-use program that guides users through the steps necessary to set up the AirPort Card or set up an AirPort Base Station.
Users can switch between wireless networks and can create and join peer-to-peer networks. In Mac OS X, these functions are accessed via the AirPort status menu. In Mac OS 9, these functions are available through the AirPort application.
AirPort Admin Utility, a utility for advanced users and system administrators. With it the user can edit the administrative and advanced settings needed for some advanced configurations.
Hard Disk Drive
The PowerBook G4 computer has an internal hard disk drive with a storage capacity of 40 or 60 GB. The drive has fluid dynamic bearings for quieter operation. The drive uses the Ultra DMA IDE (integrated drive electronics) interface and is ATA-5 compatible. Current Data Transfer Mode for the drive is UDMA-66.
The software that supports the internal hard disk is the same as that in previous models with internal IDE drives and includes DMA support. For the latest information about that software, see Technical Note TN1098, ATA Device Software Guide Additions and Corrections. The web page for Technical Note TN1098 includes a link to a downloadable copy of ATA Device Software Guide.
To obtain the reference documents listed here, see the reference links at ATA Devices.
Hard Disk Dimensions
Figure 3-3 shows the maximum dimensions of the hard disk and the location of the mounting holes. The minimum clearance between any conductive components on the drive and the bottom of the mounting envelope is 0.5 mm.

Hard Disk Connector
The internal hard disk has a 48-pin connector that carries both the ATA signals and the power for the drive. The connector has the dimensions of a 50-pin connector, but with one row of pins removed, as shown in Figure 3-4. The remaining pins are in two groups: pins 1–44, which carry the signals and power, and pins 45–48, which are reserved. Pin 20 has been removed, and pin 1 is located nearest the gap, rather than at the end of the connector.

Signal Assignments
Table 3-5 shows the signal assignments on the 44-pin portion of the hard disk connector. A slash (/) at the beginning of a signal name indicates an active-low signal.
/IOCS16 is not used; see Table 3-6.
ATA Signal Descriptions
Table 3-6 describes the signals on the ATA hard disk connector.
The built-in ATA devices are connected to the I/O bus through bidirectional bus buffers.
DVD-ROM/CD-RW Combo Drive
Some configurations of the PowerBook G4 computer have a slot-loading DVD-ROM/CD-RW Combo drive. The drive can read DVD media and read and write CD media, as shown in Table 3-7. The DVD-ROM/CD-RW drive also provides DVD-Video playback with DVD MPEG2 decode.
Media type | Reading speed | Writing speed |
|---|---|---|
DVD-ROM | 8x (CAV) | – |
CD-R | 24x (CAV) | 8x (CLV) |
CD-RW | 24x (CAV) | 8x (CLV) |
CD or CD-ROM | 24x (CAV) | – |
Digital audio signals from the DVD-ROM/CD-RW Combo drive can be played through the sound outputs under the control of the Sound Manager.
The DVD-ROM/CD-RW Combo drive is an ATAPI drive and is device-selected as master in an ATA device configuration.
DVD-R /CD-RW SuperDrive
Some configurations of the PowerBook G4 computer have a slot-loading DVD-R/CD-RW SuperDrive drive.
The SuperDrive can read and write DVD media and CD media, as shown in Figure 3-1. The DVD-R/CD-RW drive also provides DVD-Video playback. (The G4 microprocessor provides the MPEG-2 decoding.)
The Apple SuperDrive writes to DVD-R 4.7 gigabyte General Use media. These discs are playable in most standard DVD players and computer DVD-ROM drives. For a list of players tested by Apple for playability, refer to
http://www.apple.com/dvd/compatibility/
For compatibility information regarding recordable DVD formats, refer to
http://dvddemystified.com/dvdfaq.html#4.3
Digital audio signals from the SuperDrive can be played through the sound outputs under the control of the Sound Manager.
The SuperDrive is an ATAPI drive.
Trackpad
The pointing device in the PowerBook G4 computer is a trackpad. The trackpad is a solid-state device that emulates a mouse by sensing the motions of the user’s finger over its surface and translating those motions into ADB commands.
The user makes selections either by pressing the trackpad button (below the trackpad) or by tapping and double tapping on the pad itself. The trackpad responds to one or two taps on the pad itself as one or two clicks of the button. The user can tap and drag on the trackpad in much the same manner as clicking and dragging with the mouse. The tap and double-tap functions are optional; the user activates or deactivates them by means of the mouse pane in System Preferences in Mac OS X or the Trackpad control panel in Mac OS 9.
Keyboard
The keyboard is a compact, low-profile design with a row of function keys and inverted-T cursor motion keys.
Removing the Keyboard
The keyboard is removable to allow access to the internal components and expansion connectors inside the computer. The keyboard is held in place by a locking screw and two latches.
To unlock the keyboard, the user turns a slotted screw that is part of the Num Lock LED, which is between the F5 and F6 function keys. Turning the screw 180 locks or unlocks the keyboard.
The two latches are between the ESC key and the F1 key and between the F11 and F12 keys. The user can release the latches by pulling them toward the front of the computer.
Changing the Operation of the Keyboard
Several of the keys on the keyboard have more than one mode of operation.
Function keys F1–F7 can also control the display brightness, the speaker volume, the dual display feature, and the Num Lock function; function key F12 is also the media eject key.
Certain control keys can be used as page-control keys.
The keys on the right side of the keyboard can be used as a numeric keypad.
The next sections describe these groups of keys and the way their alternate modes of operation are selected by using the Fn key, the Num Lock key, and the Function Keys checkbox in the Keyboard control panel.
Keyboard Illustrations
Figure 3-5 shows the actual appearance of the keyboard. Figure 3-6 shows the alternate modes of operation of the function and control keys. Figure 3-7 shows the embedded numeric keypad.

Figure 3-6 and Figure 3-7 include duplicate versions of some keys in order to show their alternate modes of operation. In some cases, the alternate key captions shown in the figures do not appear on the keyboard. For the actual appearance of the keyboard, refer to Figure 3-5.


Using the Fn Key
Pressing the Fn key affects three sets of keys: the function keys F1–F12, the embedded numeric keypad, and certain modifier keys.
It toggles the function keys between their control-button operation and their F1–F12 functions, as shown in Table 3-9 and Figure 3-6. In Mac OS 9, the user selects the default modes of operation of those keys as described in the section The Function-Keys Checkbox.
It selects the embedded numeric keypad on the right portion of the alphanumeric keys, as shown in Table 3-11 and Figure 3-7.
It changes certain control keys, including the cursor control keys, to page control keys, as shown in Table 3-12 and Figure 3-7.
Using the Num Lock Key
Pressing the Num Lock key affects two sets of keys: the embedded keypad and the rest of the alphanumeric keys.
It selects the embedded numeric keypad, as shown in Table 3-11 and Figure 3-7.
It makes the rest of the alphanumeric keys functionless (NOPs), as shown in Figure 3-7.
The Function-Keys Checkbox
The Function-keys checkbox is supported in Mac OS 9. The Fn key lets the user switch the mode of operation of the function keys at any time. The user selects the default mode of the function keys by means of the Function-keys checkbox in the Keyboard Control Panel.
The Function-keys checkbox lets the user choose whether the function key operations are primary or secondary. “Function keys primary” means the function keys are normally in their F1–F12 mode of operation and pressing the Fn key selects their control-button mode. “Function keys secondary” means the function keys are normally in their control-button mode and pressing the Fn key selects their function-key mode.
In other words, pressing the Fn key reverses the mode of operation of the function keys from the default mode set by the checkbox. Table 3-9 summarizes the checkbox settings and the operation of the Fn key. The operations of the individual function keys are shown in Table 3-9 and Figure 3-6.
The Embedded Keypad
A certain group of alphanumeric keys can also function as an embedded keypad. The user selects this mode by using the Fn key or the Num Lock key. Figure 3-7 shows the keys making up the embedded keypad and Table 3-11 lists them.
Key name | Keypad function | Key name | Keypad function | ||
|---|---|---|---|---|---|
6 | Clear | P | * (multiply) | ||
7 | 7 | J | 1 | ||
8 | 8 | K | 2 | ||
9 | 9 | L | 3 | ||
0 | / (divide) | ; | – (subtract) | ||
- | = (equals) | M | 0 | ||
U | 4 | , | NOP | ||
I | 5 | . | . (decimal) | ||
O | 6 | / | + (add) |
When the embedded keypad is made active by the Num Lock key, the other alphanumeric keys have no operation (NOP), as shown in Figure 3-7. The affected keys include certain special character keys: plus and equal sign, right and left brackets, vertical bar and backslash, and straight apostrophe.
Other Control Keys
The cursor control keys can also be used as page control keys. Other control keys can take on the functions of certain keys on a PC keyboard, for use with PC emulation software. The Fn key controls the modes of operation of this group of keys. Table 3-12 is a list of these keys and their alternate functions. These control keys are also show in Figure 3-7.
Flat-Panel Display
The PowerBook G4 computer has a built-in color flat-panel display. It is a wide-screen display (1280 by 854 pixels) and is 15.2 inches across, measured diagonally. The resolution is 101.4 dpi.
The display is backlit by a cold cathode fluorescent lamp (CCFL). The display uses TFT (thin-film transistor) technology for high contrast and fast response.
In addition to its native resolution (1280 by 854) the display also supports several non-native resolutions, as shown in Table 3-13. The graphics controller IC includes a scaling function that expands displays with those smaller resolutions to fill the screen.
The display’s native resolution, 1280 by 854, has an aspect ratio of 3:2. When selecting a picture resolution with an aspect ration of 4:3, the user can choose to have it displayed with square pixels and black margins on the sides, or with stretched pixels that fill the display from side to side. These options are shown in Table 3-13.
External Monitors
The computer has a Digital Visual Interface (DVI) connector for flat panel displays, an external video monitor, or a projection device. The DVI connector supports all DVI-equipped displays. A DVI-to-VGA adapter for use with analog monitors is included. With a ADC-to-DVI adapter, available separately, the PowerBook G4 computer can be used with any Apple flat panel display.
The computer also has an S-video connector that supplies a video signal for an NTSC or PAL video monitor or VCR. See External Video Port.
Dual Display and Mirror Mode
An external monitor or projection device connected to the computer can increase the amount of visible desktop space. This way of using an external monitor is called dual display to distinguish it from mirror mode, which shows the same information on both the external display and the built-in display.
The scaling function is available when the internal display and an external monitor are both operating and the mirror mode is selected. However, the external monitor could have black borders during mirroring, depending on the supported timings between the two displays and on the monitor’s selection algotithm. Both displays show full-sized images only when the display resolution for the external monitor is set to the internal display’s native resolution: 1280 by 854. Both displays can operate with other resolution settings, but in mirror mode, one of them has a display that is smaller than the full screen and has a black border around it. With the resolution for the external monitor set to 640 by 480 or 800 by 600, the image on the internal display is smaller than its screen. For resolution settings larger than 1280 by 854, the image on the external monitor is smaller than its screen.
Analog Monitor Resolutions
The PowerBook G4 computer comes with an adapter for use with an analog video monitor. Table 3-14 lists the picture sizes and frame rates supported.
When the flat-panel display and an external video monitor are operating at the same time, the system allocates 16 MB of video memory for each, enough to support the full 24-bit pixel depth at resolutions up to 2048 by 1536 pixels.
Digital Display Resolutions
Table 3-15 shows the resolutions supported on flat-panel (digital) displays. The 32 MB of video RAM on the accelerated graphics card supports pixel depths up to 32 bits per pixel at all resolutions.
DVI-I Connector
The external monitor connector is a DVI-I connector. It carries both digital and analog video signals. Figure 3-8 shows the contact configuration; Table 3-16 and Table 3-17 list the signals and pin assignments.

Pin | Signal name |
|---|---|
C1 | Analog Red Video |
C2 | Analog Green Video |
C3 | Analog Blue Video |
C4 | Analog Horizontal Sync |
C5 | Analog Common Ground Return |
The graphics data sent to the digital monitor use transition minimized differential signaling (TMDS). TMDS uses an encoding algorithm to convert bytes of graphics data into characters that are transition-minimized to reduce EMI with copper cables, and DC-balanced for transmission over fiber optic cables. The TMDS algorithm also provides robust clock recovery for greater skew tolerance with longer cables or low-cost short cables. For additional information about TMDS, see the references shown in Digital Visual Interface.
External Video Port
The PowerBook G4 computer has a video port that provides S-video output to a PAL or NTSC video monitor or VCR. The video output connector is a 7-pin S-video connector. Figure 3-9 shows the arrangement of the pins and Table 3-18 shows the pin assignments on the S-video connector.

Pin number | S-video output connector |
|---|---|
1 | Analog GND |
2 | Analog GND |
3 | Video Y (luminance) |
4 | Video C (chroma) |
5 | composite video |
6 | Unused |
7 | Unused |
An adapter (included) can be plugged into the S-video connector and accepts an RCA plug for connecting a composite video monitor.
The PowerBook G4 computer provides video output at picture sizes and frame rates compatible with the NTSC and PAL standards; the picture sizes are listed in Table 3-19. Those picture sizes produce underscanned displays on standard monitors.
Sound System
The sound system for the PowerBook G4 computer supports stereo sound output and input, available simultaneously. The sound circuitry handles audio data as 16-bit samples at a 44.1 kHz sample rate.
The sound circuitry and system software can create sounds digitally and either play the sounds through the built-in speakers or send the sound signals out through the sound output jack or one of the USB ports.
The PowerBook G4 computer can record sound data from the built-in microphone, an audio CD, the audio input jack, or a USB audio device. For each sound input source, sound play-through can be enabled or disabled. Sound data from digital sources is converted to analog form for output to the speakers and the sound output jack.
Sound Inputs
The sound system accepts inputs from the following sources:
the built-in microphone
the audio input jack
a CD or DVD in the DVD-ROM/CD-RW Combo drive
a CD or DVD in the DVD-R/CD-RW SuperDrive
a digital audio device connected to a USB or FireWire port
sound signals from the communication (modem) slot
The microphone preamp has a dedicated analog input channel in the Snapper circuitry; the other inputs send digital data. The analog input can be set for play-through or recording. The digital inputs can be selected or mixed by the Snapper sound circuitry.
The computer also accepts digital sound data from the DVD-ROM/CD-RW Combo drive, DVD-R /CD-RW SuperDrive, or from devices connected to the USB or FireWire ports. Sound data from those sources can be sent to the sound system to be converted to analog form for output to the speakers and the output jack.
Built-in Microphone
The built-in microphone is located at the bottom of the left speaker grille.
The sound signal from the built-in microphone goes through a dedicated preamplifier that raises its nominal 30 mV level to a nominal 150 mV (peak-to-peak) signal to the sound circuitry. That signal level assures good quality digitizing without driving the analog input into clipping.
Audio Input Jack
The audio input jack is a 3.5 mm mini phone jack located on the I/O panel on the back of the computer. The audio input jack accepts line-level stereo signals. It also accepts a stereo miniplug-to-RCA cable adapter for connecting stereo equipment to the computer.
The sound input jack signal connections are
tip: audio left channel
ring: audio right channel
sleeve: audio ground
Modem Activity Sound Signals
Modem activity sound signals from the communications slot are sent to the Snapper sound circuitry as 8-bit digital data.
Sound Outputs
The sound system sends sound output signals to the built-in speakers and the external sound output jack.
Headphone Jack
The headphone jack is located on the left side of the computer. The headphone jack provides enough current to drive a pair of low-impedance headphones. It can also be used as a line-level output.
The headphone jack has the following electrical characteristics:
impedance suitable for driving standard 32-ohm headphones
output level 2.0 V peak-to-peak (0.7 V RMS)
signal-to-noise (SNR) 90 dB unweighted (typical)
total harmonic distortion (THD) 0.03% or less
Internal Speakers
The computer has two internal speakers, one on either side of the keyboard. The computer turns off the sound signals to the speakers when an external device is actively connected to the sound output jack and during power cycling.
Digitizing Sound
The sound circuitry digitizes and records sound as 44.1 kHz 16-bit samples. If a sound sampled at a lower rate on another computer is played as output, the Sound Manager transparently upsamples the sound to 44.1 kHz prior to outputting the audio to the sound circuitry.
When recording sound from a microphone, applications that may be affected by feedback should disable sound play-through by calling the Sound Manager functions.
Copyright © 2002 Apple Computer, Inc. All Rights Reserved. Terms of Use | Privacy Policy | Updated: 2002-11-01