Retired Document
Important: This document may not represent best practices for current development. Links to downloads and other resources may no longer be valid.
Architecture
This chapter describes the architecture of the Power Mac G4 computer. It includes information about the major components on the logic boards: the microprocessor, the other main ICs, and the buses that connect them to each other and to the I/O interfaces.
Block Diagram and Buses
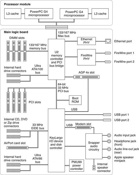
Figure 2-1 is a simplified block diagram of the Power Mac G4 computer. The diagram shows the main ICs and the buses that connect them together.
The architecture of the Power Mac G4 is based on the PowerPC G4 microprocessor and two custom ICs: the U2 memory controller and bus bridge, and the KeyLargo I/O controller.

The Power Mac G4 has the following data buses, not counting the processor’s dedicated interface to the backside cache.
Processor bus: 133/167 MHz, 64-bit bus connecting the processor module to the U2 IC
Memory bus: 133/167 MHz, 64-bit bus connecting the main memory to the U2 IC
AGP-4x bus: 66 MHz, 32-bit bus connecting the AGP graphics card to the U2 IC
PCI bus: 33 MHz, 64-bit bus connecting the KeyLargo I/O controller, the boot ROM, and the PCI slots to the U2 IC
Ultra ATA/100 and ATA/66 buses: supports internal hard drive connectors
EIDE bus: 33 MHz supports internal CD and DVD drive connectors and the AirPort card connector
The remainder of this chapter describes the architecture in three sections centered around the processor module, the U2 memory controller and bridge IC, and the KeyLargo I/O controller IC.
Processor Module
The processor module is a separate logic board that contains two G4 microprocessors and their external memory caches.
The processor module is connected to the main logic board by a 300-pin connector. To achieve the required level of performance, the signal lines that connect the processor module and the main logic board are carefully matched in length, loading, and impedance.
PowerPC G4 Microprocessor
The PowerPC G4 microprocessors used in the Power Mac G4 computer have many powerful features, including a pipelined system bus called MaxBus.
The PowerPC G4 used in the Power Mac G4 computer has the following features:
32-bit PowerPC implementation
superscalar PowerPC core
Velocity Engine (AltiVec technology): 128-bit-wide vector execution unit
high bandwidth MaxBus with 36 address bits and 64 data bits
fully symmetric multiprocessing capability
dual 32 KB instruction and data caches (level 1)
built-in 256 KB backside L2 cache
support for up to 2 MB backside L3 cache
on-chip L3 tag storage
For more information, see the reference at PowerPC G4 Microprocessor.
Cache Memory
In addition to the 256 KB level 2 (L2) cache built into the PowerPC G4 microprocessor, the processor module also has an external level 3 (L3) cache for each microprocessor. The L3 cache consists of 1 or 2 MB of double data rate (DDR) SSRAM. The clock frequency and clock ratio for the L3 cache are shown below.
Clock Frequency (MHz) | Clock Ratio | |
|---|---|---|
867 MHz uP | 216.66 | 4:1 |
1 GHz uP | 250 | 4:1 |
1.25 GHz uP | 250 | 5:1 |
Dual Processors
The Power Mac G4 computer contains two PowerPC G4 processors, each with its own external L3 cache. The dual-processor configuration allows applications that support multitasking to approximately double their performance.
U2 Bridge and Memory Controller
The U2 custom IC is at the heart of the Power Mac G4 computer. It provides the bridging functionality between the processors, the memory system, the PCI-based I/O system, the AGP slot, and the FireWire and Ethernet interfaces. It also provides the Ultra ATA/100 disk drive interface.
Processor Bus
The processor bus is a 133 or 167 MHz bus connecting the processor module to the U2 IC. The bus has 64-bit wide data and 32-bit wide addresses. The bus uses MaxBus protocols, supported by the U2 IC.
The MaxBus protocol includes enhancements that improve bus efficiency and throughput over the 60x bus. The enhancements include
out-of-order completion
address bus streaming
intervention
Out-of-order completion allows the memory controller to optimize the data bus efficiency by transferring whichever data is ready, rather than having to pass data across the bus in the order the transactions were posted on the bus. This means that a fast DDR SDRAM read can pass a slow PCI read, potentially enabling the processor to do more before it has to wait on the PCI data.
Address-bus streaming allows a single master on the bus to issue multiple address transactions back-to-back. This means that a single master can post addresses at the rate of one every two clocks, rather than one every three clocks, as it is in the 60x bus protocol.
Intervention is a cache-coherency optimization that improves performance for dual-processor systems. If one processor modifies some data, that data first gets stored only in that processor’s cache. If the other processor then wants that data, it needs to get the new modified values. In previous systems, the first processor must write the modified data to memory and then the second processor can read the correct values from memory. With intervention, the first processor sends the data directly to the second processor, reducing latency by a factor of ten or more.
Main Memory Bus
For the 867 MHz Power Mac G4, the main memory bus connects the main memory to the U2 IC via a 133 MHz, 64-bit data bus. For the 1 GHz or 1.25 GHz Power Mac G4, the main memory bus connects the main memory to the U2 IC via a 167 MHz, 64-bit data bus. For the 867 MHz computer, the minimum speed DDR is 2x133 MHz, which is DDR 266 (PC2100). For the 1 GHz and 1.25 GHz computers, the minimum speed DDR is 2x167 MHz, which is DDR 333 (PC2700).
Main memory is provided by up to four 133 MHz DDR 266 or 167 MHz DDR 333 DIMMs using double data rate SDRAM devices. Supported DIMM sizes are 256 and 512 MB (also is 128 MB- and 1GB-capable). The memory slots accept four 512-MB DIMMs (also is capable of 2-1GB) for a maximum memory size of 2 GB. For more information about memory DIMMs, see RAM Expansion.
The address bus is connected to all four DIMM slots, so the total number of address bus loads to the controller IC can vary from one to eight. The data bus is connected through four switches, one for each DIMM slot. Only one switch is selected at a time, so the data bus presents either one or two loads, depending on whether the selected DIMM has one or two banks. The data switches have no drive capability; they are either low or high impedance, depending on whether they are selected or not.
Ultra ATA/100 Interface
The U2 IC implements a single Ultra ATA/100 hard disk interface and can accommodate one or two internal hard drives. In the absence of a SCSI card, this interface can be used as the boot drive.
For information about the drive bays, see Fixed-Media Drives.
The KeyLargo IC provides DB-DMA (descriptor-based direct memory access) support for the Ultra ATA/66 interface.
Accelerated Graphics Port Bus
The accelerated graphics port (AGP) bus is a 66 MHz, 32-bit bus connecting the AGP card to the U2 IC. Data is transmitted at both edges of the clock and appears at a rate 4x the clock. The bus is an AGP-4x bus with twice the performance of the AGP-2x bus, supporting peak transfers of 512 MB/s.
The AGP bus is a superset of the PCI bus, with the addition of separate address lines so it does not multiplex address and data when running in AGP mode. Having a separate address bus allows the AGP bus to pipeline addresses, thereby improving performance.
To further improve the performance of the AGP bus, the U2 IC supports a graphics address remapping table (GART). Because the virtual memory system organizes main memory as randomly distributed 4 KB pages, DMA transactions for more than 4 KB of data must perform scatter-gather operations. To avoid this necessity for AGP transactions, the GART is used by the AGP bridge in the U2 to translate a linear address space for AGP transactions into physical addresses in main memory.
For more information on the graphics cards installed in the AGP slot, refer to Graphics Cards.
PCI Bus
The 33-MHz, 64-bit PCI bus connects the U2 IC to the boot ROM, the KeyLargo I/O controller, and the PCI slots. The U2 IC used in the Power Mac G4 computer supports the PCI write combining feature. This feature allows sequential write transactions involving the Memory Write or Memory Write and Invalidate commands to be combined into a single PCI transaction. The memory write transactions being combined must be to sequential, ascending, and non-overlapping PCI addresses. Placing an eieio or sync command between the write commands prevents any write combining.
For more information on the PCI bus, refer to PCI Expansion Slots.
Boot ROM
The boot ROM consists of 1 MB of on-board flash EPROM. The boot ROM includes the hardware-specific code and tables needed to start up the computer using Open Firmware, to load an operating system, and to provide common hardware access services.
Ethernet Controller
The U2 IC includes an Ethernet media access controller (MAC). As a separate I/O channel on the U2 IC, it can operate at its full capacity without degrading the performance of other peripheral devices. The U2 IC provides DMA support for the Ethernet interface.
The MAC implements the link layer. It is connected to a PHY interface IC that provides 10-BaseT, 100-BaseT, or 1000-BaseT operation over a standard twisted-pair interface. The Ethernet port is auto-sensing and self-configuring to allow use of either a cross-over or straight-through cable. The operating speed of the link is automatically negotiated by the PHY and the bridge or router to which the Ethernet port is connected. For information about the port, see Ethernet Port.
FireWire Controllers
The U2 IC includes an IEEE 1394 FireWire controller that implements the FireWire link layer and supports transfer rates of 100, 200, and 400 Mbps. The PHY is powered as long as the computer is connected to AC power. While operating, the PHY acts as a repeater so that the FireWire bus remains connected. For more information, see FireWire Ports.
KeyLargo I/O Controller
The KeyLargo custom IC is the third major component of the architecture. It provides all the I/O functions except Ethernet and FireWire. The KeyLargo IC provides two USB root hubs, an Ultra ATA/66 (ATA-66 UDMA Mode 4 and Multiword DMA Mode 4), an EIDE interface, and support for the communication slot and the sound IC.
DMA Support
The KeyLargo IC provides DB-DMA (descriptor-based direct memory access) support for the following I/O channels:
Ultra ATA/66
EIDE interface
Communication slot interface
IIS channel to the sound subsystem
The DB-DMA system provides a scatter-gather process based on memory-resident data structures that describe the data transfers. The DMA engine is enhanced to allow bursting of data files for improved performance.
Interrupt Support
The interrupt controller for the Power Mac G4 system is an MPIC cell in the KeyLargo IC. In addition to accepting all the KeyLargo internal interrupt sources, the MPIC controller accepts external interrupts from dedicated interrupt pins and serial interrupts from the U2 serial interrupt stream. The signals from the U2 IC are synchronized to the operation of the MPIC circuitry, so there is no additional interrupt latency on the U2 interrupts.
USB Interface
The KeyLargo IC implements two independent USB root hubs, each of which is connected to one of the ports on the back panel of the computer. The use of two independent hubs allows both USB ports to support high data rate devices at the same time with no degradation of their performance. If a user connects a high-speed device to one port and another high-speed device to the other, both devices can operate at their full data rates.
The two external USB connectors support USB devices with data transfer rates of 1.5 Mbps or 12 Mbps. For more information, see USB Ports.
Internally, the second port of one controller is routed to the USB signal pair on the AGP slot. The second port of the other controller is routed to the modem slot for an internal USB modem.
The USB ports comply with the Universal Serial Bus Specification 1.1 Final Draft Revision. The USB register set complies with the Open Host Controller Interface (OHCI) specification.
Ultra ATA/66 Interface
The KeyLargo IC implements a single Ultra ATA/66 hard disk interface. This interface can accommodate one or two internal hard drives. The KeyLargo IC provides DB-DMA (descriptor-based direct memory access) support for the Ultra ATA/66 interface.
For information about the drive bays, see Fixed-Media Drives.
Enhanced IDE Interface
In the Power Mac G4, the KeyLargo IC provides an enhanced IDE (EIDE) interface. The EIDE interface supports the removable media drives mounted behind the front panel, an optical drive, and second optical drive. The EIDE data bus is shared with the AirPort wireless LAN port.
For information about specific drives, see Removable-Media Drives.
The KeyLargo IC provides DB-DMA (descriptor-based direct memory access) support for the EIDE interface.
Wireless LAN Module
The interface between the AirPort wireless LAN module and the KeyLargo IC is similar to a PC Card interface.
The AirPort Card wireless LAN module contains a media access controller (MAC), a digital signal processor (DSP), and a radio-frequency (RF) section. The module has a connector for the cable to the antennas, which are built into the computer’s case. The AirPort port shares the EIDE data bus.
The wireless LAN module is based on the IEEE 802.11 standard. The wireless LAN module transmits and receives data at up to 11 Mbps and is compatible with older systems that operate at 1 or 2 Mbps. For information about its operation, see AirPort Card.
Modem Slot Support
The KeyLargo IC has a traditional Macintosh serial port and a USB port, which are connected to the modem slot. The Power Mac G4 implements the USB port for modem support. The KeyLargo IC also provides digital audio to the slot in the form of an IIS port that shares pins with the serial port.
The KeyLargo IC provides DB-DMA (descriptor-based direct memory access) support for the modem slot interface.
The internal hardware modem is a separate module that contains a modem controller IC, a data pump, and the interface to the telephone line (DAA). For more information about the modem, see Internal Modem.
Sound Circuitry
The sound circuitry, called Snapper, is connected to the KeyLargo IC by a standard IIS (inter-IC sound) bus. The KeyLargo IC provides DB-DMA (descriptor-based direct memory access) support for the IIS port.
The core of the Snapper circuitry is an IC that performs digital audio processing and codec functions. The digital audio processing functions include output equalization, dynamic range compression, and volume control. The equalization and dynamic range control functions are set to fixed values to equalize a set of Apple Pro Speakers. Those functions are bypassed for signals sent to the audio output jack.
The codec functions include one stereo input pair and three stereo output pairs.
Stereo signals from the audio input jack are routed to an analog line input buffer that drives the internal A/D converter.
Digital audio data from the KeyLargo IC drives the internal D/A converter. Analog audio signals from the D/A converter are routed to the headphone jack, the line output jack, and an audio power amplifier.
The audio power amplifier drives the internal speaker, the Apple Pro Speakers, and front headphone. When Apple Pro Speakers are connected to the external speaker jack or headphones are installed, the internal speaker is muted.
For a description of the features of the sound system, see Sound System.
Power Controller
The power management controller in the Power Mac G4 is a microcontroller called the PMU99. It supports new modes of power management that provide significantly lower power consumption than previous systems. For more information, see Power-Saving Modes.
Graphics Cards
The Power Mac G4 computer comes with a graphics card installed in the 4x-AGP slot. Three graphics cards are available, as shown below:
Graphics IC | Video RAM | Connectors |
|---|---|---|
NVidia GeForce4 MX | 32 MB DDR | ADC and DVI |
NVidia GeForce4 Titanium (enhancement) | 128 MB DDR | ADC and DVI |
ATI Radeon 9000 Pro | 64 MB DDR | ADC and DVI |
All three graphics card can support two monitors at the same time.
The NVidia GeForce4 Titanium card is available as a enhancement.
The display memory on the AGP card is separate from the main memory. The display memory consists of 32, 64, or 128 MB of DDR devices configured to make a 128-bit data bus. The display memory cannot be expanded by the user.
The digital flat-panel display can have pixel depths of 8, 16, or 32 for a display up to 1920 by 1200 pixels.
An analog monitor can be connected to the DVI connector by means of an adapter cable. The analog monitor display can have pixel depths of 8, 16, or 32 bpp for all displays up to 2048 by 1536 pixels at a refresh rate of 75 Hz.
For more information about the features of the graphics cards and the monitors they support, see Video Monitor Ports.
Copyright © 2002 Apple Computer, Inc. All Rights Reserved. Terms of Use | Privacy Policy | Updated: 2002-09-17