Retired Document
Important: This document may not represent best practices for current development. Links to downloads and other resources may no longer be valid.
Devices and Ports
This chapter describes both the built-in I/O devices and the ports for connecting external I/O devices. Each of the following sections describes an I/O port or device.
USB Ports
The eMac has three Universal Serial Bus (USB) ports. The USB ports are connected to two separate USB root hubs, allowing two of the USB ports to support 12 Mbps devices at the same time with no degradation of their performance. See Uni-N Bridge and Memory Controller.
For more information about USB on Macintosh computers, please refer to Apple Computer’s Mac OS USB DDK API Reference and the other sources listed in USB Interface.
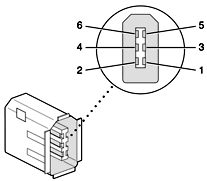
USB Connectors
The USB ports use USB Type A connectors, which have four pins each. Two of the pins are used for power and two for data. Figure 3-1 is an illustration of a Type A port; Table 3-1 shows the signals and pin assignments.

The eMac provides 5 volt power to the USB ports. The maximum current available is 500 mA on each port.
The USB ports support both low-speed and high-speed data transfers, at up to 1.5 Mbits per second and 12 Mbits per second, respectively. High-speed operation requires the use of shielded cables.
The Macintosh system software supports all four data transfer types defined in the USB specification.
USB Features
Features of the USB ports include power saving modes and the ability to boot the computer using a USB mass-storage device.
Wake Up From Sleep
USB devices can provide a remote wakeup function for the computer. The USB root hub in the computer is set to support remote wakeup whenever a device is attached to or disconnected from the bus. The keyboard that comes with the computer uses this method to wake the computer on a key press.
Connect and Resume
The KeyLargo IC contains special circuitry that allows the computer to wake from Sleep mode on connect, disconnect, and resume events. Compatible USB devices should support the USB-suspend mode defined in the USB specification.
USB Storage Devices
The eMac can boot from a USB storage device that follows the USB Mass Storage Class specification.
Class drivers are software components that are able to communicate with many USB devices of a particular kind. If the appropriate class driver is present, any number of compliant devices can be plugged in and start working immediately without the need to install additional software. Mac OS 9 and later includes a class driver that supports devices that meet the USB Mass Storage Class specifications.
USB Controller
The eMac uses an Open Host Controller Interface (OHCI) controller for USB communication. Some early USB devices (most notably keyboards) can’t interoperate with an OHCI controller. Those devices are not supported by the Macintosh USB system software.
FireWire Ports
The eMac has two external FireWire IEEE 1394 ports. The features of the FireWire ports are:
Support serial I/O at 100, 200, and 400 Mbps (megabits per second)
Share up to 8 watts of power when the computer system is on
Support up to 62 devices
The FireWire hardware and software provided with the eMac are capable of all asynchronous and isochronous transfers defined by the IEEE 1394 standard.
FireWire Device Programming
A generic driver for mass storage devices is included in the system software. This driver is used only when a vendor-specific driver cannot be found. Apple recommends that users install vendor-provided drivers for maximum performance and functionality.
A driver for DV (digital video) is included in QuickTime 4.0 and later versions.
The eMac computer can boot from a FireWire storage device that implements SBP-2 (Serial Bus Protocol) with the RBC (reduced block commands) command set. Detailed information is available only under non-disclosure agreement; contact Developer Technical Support at dts@apple.com.
When connected to another computer by a FireWire bus, the eMac computer can operate as a mass storage device. See Target Disk Mode.
For additional information about the FireWire interface and the Apple APIs for FireWire device control, refer to the resources listed in FireWire Interface.
FireWire Connector
The FireWire connector has six contacts, as shown in Figure 3-2. The connector signals and pin assignments are shown in Table 3-2.

When the computer is on, the power pin provides a maximum voltage of 24 V (no load) and up to 8 W total power (shared by both connectors). Zero voltage is present at the power pin when the computer is in sleep mode or when it is off.
The FireWire PHY is powered as long as the computer is connected to AC power. While the PHY is operating, it acts as a repeater from one port to another so that the FireWire bus remains connected.
Pin 2 of the 6-pin FireWire connector is ground for both power and inner cable shield. If a 4-pin connector is used on the other end of the FireWire cable, its shell should be connected to the wire from pin 2.
The signal pairs are crossed in the cable itself so that pins 5 and 6 at one end of the cable connect with pins 3 and 4 at the other end. When transmitting, pins 3 and 4 carry data and pins 5 and 6 carry clock; when receiving, the reverse is true.
For additional information about the FireWire interface and the Apple APIs for FireWire device control, developers should refer to the resources listed in FireWire Interface.
Target Disk Mode
The user has the option at boot time to put the computer into a mode of operation called Target Disk Mode (TDM).
When the eMac is in Target Disk Mode and connected to another Macintosh computer by a FireWire cable, the eMac operates like a FireWire mass storage device with the SBP-2 (Serial Bus Protocol) standard. Target Disk Mode has two primary uses:
high-speed data transfer between computers
diagnosis and repair of a corrupted internal hard drive
The eMac can operate in Target Disk Mode as long as the other computer has a FireWire port and either Mac OS X (any version) or Mac OS 9 with FireWire software version 2.3.3 or later.
To put the eMac into Target Disk Mode, restart the eMac and hold down the T key until the FireWire icon appears on the display. Then connect a FireWire cable from the eMac to the other computer. When the other computer completes the FireWire connection, a hard disk icon appears on its desktop.
If the FireWire cable is disconnect or the eMac turned off while in Target Disk Mode, an alert appears on the other computer.
To take the eMac out of Target Disk Mode, drag the hard-disk icon on the other computer to the trash, then press the power button on the eMac.
For more information about Target Disk Mode, see the section “Target Mode” in TN 1189, The Monster Disk Driver Technical Note. For information about obtaining the Technical Note, see Apple Technical Notes.
Ethernet Port
The eMac has a built-in 10/100 Mbps Ethernet port. The user can connect it to an Ethernet cable from a hub, switch, or router, or to another Macintosh computer using a cross-connect cable. The connected device can be either a 10Base-T or a 100Base-TX device; the port automatically detects which type of device is connected.
The connector for the Ethernet port is a an RJ-45 connector located on the I/O panel. Table 3-3 shows the signals and pin assignments on the connector.
The Ethernet interface in the eMac conforms to the ISO/IEC 802.3 specification, where applicable.
Internal Modem
The Combo and SuperDrive models of eMac come with a built-in fax modem. The telephone connector for the modem is an RJ-11 connector on the I/O panel. A telephone cable is included with the computer.
The modem has the following features:
modem bit rates up to 56 Kbps (supports V.92 and K56flex modem standards)
Group 3 fax modem bit rates up to 14.4 Kbps
The modem appears to the system as a serial port that responds to the typical AT commands. The modem provides an analog sound output for monitoring the progress of the modem connection.
AirPort Card
The eMac computer supports the AirPort Card, Apple’s internal wireless LAN module. The AirPort Card is available as a build-to-order option or as a user-installable upgrade.
By communicating wirelessly with a base station, the AirPort Card can be used for internet access, email access, and file exchange. A base station provides the connection to the internet or the bridge between the wireless signals and a wired LAN or both. The AirPort Base Station has connectors for a wired LAN, a DSL or cable modem, and a standard telephone line using its built-in 56 Kbps modem.
AirPort transmits and receives data at speeds up to 11 Mbps, comparable to wired networking speeds. AirPort is Wi-Fi Certified, which means it is fully compatible with other devices that follow the IEEE 802.11b standard, including PCs. For more information about Wi-Fi and compatibility, see the reference at Wireless Networks.
Data Security
AirPort has several features designed to maintain the security of the user’s data.
The system uses direct-sequence spread-spectrum (DSSS) technology that uses a multi-bit spreading code that effectively scrambles the data for any receiver that lacks the corresponding code.
The system can use a table of authentic network client ID values to verify each client’s identity before granting access to the network.
When communicating with a base station, AirPort uses up to 128-bit encryption to encode data while it is in transit.
The AirPort Base Station can be configured to act as a firewall, protecting data from would-be Internet hackers.
The AirPort Base Station can authenticate users by their unique Ethernet IDs, preventing unauthorized machines from logging into a network. Network administrators can take advantage of RADIUS compatibility, used for authenticating users over a remote server. Smaller networks can offer the same security using a local look-up table located within the base station.
AirPort Hardware
The AirPort Card is a wireless LAN module based on the IEEE 802.11 standard and using direct-sequence spread-spectrum (DSSS) technology. It is interoperable with PC-compatible wireless LANs that conform to the 802.11b standard and use DSSS.
Two AirPort antennas are built into the computer, one above and the other below the CRT. One antenna is always used for transmitting. Either of the two antennas may be used for receiving. Using a diversity technique, the AirPort Card selects the antenna that gives the best reception.
AirPort Software
Software that is provided with the AirPort Card includes
AirPort Setup Assistant, an easy-to-use program that guides the user through the steps necessary to set up the AirPort Card or set up an AirPort Base Station.
Users can switch between wireless networks and can create and join peer-to-peer networks. In Mac OS X, these functions are accessed via the AirPort- Menu-Extra pulldown. In Mac OS 9, these functions are available through the AirPort application.
AirPort Admin Utility, a utility for advanced users and system administrators. With it the user can edit the administrative and advanced settings needed for some advanced configurations.
Hard Disk Drive
The internal hard disk drive has a storage capacity of 40 GB for the Combo drive and 60 GB for the SuperDrive. The drive uses the Ultra DMA IDE interface, which is also referred to as the ATA-5 interface. The internal hard disk drive is connected as device 0 (cable-select as master) in an ATA Device 0/1 configuration.
The software that supports the internal hard disk is similar to that in previous Macintosh models with internal IDE drives and includes DMA support. To obtain information about that software and about the ANSI standard for the Ultra DMA IDE interface, see ATA Interface.
Combo Drive DVD-ROM/CD-RW
A combination DVD-ROM and CD-RW drive is available as an option. The drive has a tray for loading the disc.
The Combo drive can read DVD media and read and write CD media, as shown in Table 3-4. The DVD-ROM/CD-RW drive also provides DVD-Video playback.
Media type | Reading speed | Writing speed |
|---|---|---|
DVD-ROM | 8x (CAV) | – |
CD-R | 32x (CAV) | 12x (CLV) |
CD-RW | 24x (CAV) | 8x (CLV) |
CD-ROM | 32x (CAV) | – |
Digital audio signals from the DVD-ROM/CD-RW drive can be played through the sound outputs under the control of the Sound Manager.
The DVD-ROM/CD-RW drive is an ATAPI drive and is cable-selected as device 0 (master) in an ATA Device 0/1 configuration.
SuperDrive DVD-R/CD-RW Drive
A combination CD-RW and DVD-R drive is available as an option. The drive uses tray loading of the disc.
The drive can read and write DVD media and CD media, as shown in Table 3-5. The SuperDrive also provides DVD-Video playback with DVD MPEG 2 decode.
Digital audio signals from the SuperDrive can be played through the sound outputs under the control of the Sound Manager.
The SuperDrive uses the ATA-4 protocol and is device-select jumpered as Device 1 (slave) in an ATA Device 0/1 configuration.
CD-RW Drive
One configuration of the eMac has an internal CD-RW drive. The drive has a tray for loading the disc. The drive is capable of writing at 24x speed, rewriting at 10x speed, and reading at 32x speed.
Digital audio signals from the CD-RW drive can be played through the sound outputs under the control of the Sound Manager.
The CD-RW drive is an ATAPI drive and is device-select jumpered as Device 0 (master) in an ATA Device 0/1 configuration.
Video Display
The built-in video display uses a 17-inch CRT (16-inch viewable diagonal). The CRT uses shadow-mask technology and has a dot pitch of 0.25 mm. The display has a fixed horizontal scan rate (72 kHz) and supports five resolutions. Table 3-6 lists the resolutions and the vertical scan rates supported.
The display has a mode called Theater Mode that increases the display luminance when playing full-screen video material. Theater Mode is an option in the Displays control panel and is active only when an application requests it.
The display supports pixel depths up to 24 bits (millions of colors) at all resolutions.
Video Monitor Port
The eMac computer has a port for an external video monitor. The external monitor shows the same information as the built-in display, a mode sometimes called hardware video mirroring. The external monitor supports only the display resolutions that are available on the internal monitor, as shown in Table 3-6.
Video Display Connector
The video display connector is a 14-pin rectangular connector, Hosiden TCX3143. The connector pins are identified in Figure 3-3.

The eMac computer detects the type of display adapter that is plugged in and programs the graphics IC to route the appropriate video signals to the connector. The signal assignments on the video connector are shown in Table 3-7.
Keyboard
The eMac comes with an Apple Pro Keyboard. It is a USB compatible full-size keyboard with 15 function keys and separate groups of numeric keypad and editing keys.
The keyboard also provides two additional USB ports; see Keyboard and USB.
Keyboard Features
Here is a list of the features of the Apple Pro Keyboard.
Slope settable to either 0 or 6 degrees by a flip-out foot
108 keys (on the ANSI versions)
15 function keys
6 editing keys (Page Up, Page Down, Home, End, Forward Delete, and Help)
USB HID Consumer Page Usage multimedia control keys
Full travel, standard pitch keys on alphanumeric, editing, and keypad sections, including function keys and cursor position keys
Localized worldwide: 33 versions, 3 standard layouts (ANSI, JIS, ISO)
LED indicators in the Caps Lock and Num Lock keys
USB hub functionality with two Type A USB bus-powered ports
Keyboard Layout
There are localized versions of the Apple Pro Keyboard for use in different parts of the world. The three standards used are ANSI (US and North America), JIS (Japan), and ISO (Europe). Figure 3-4 shows the keyboard layout for the ANSI keyboard.


MultiMedia Control Keys
The keyboard has six multimedia keys: Volume Up, Volume Down, Mute, Brightness Up (F15), Brightness Down (F14), and Eject. Theses keys provide direct control of the features on the computer by way of the USB.
Keyboard and USB
The Apple Pro Keyboard is designed to work with the eMac by way of the USB ports. The keyboard has a captive cable with a USB Type A connector. The keyboard is a bus-powered USB hub with two USB Type A ports.
Apple provides a HID class driver for the Apple USB keyboard, which supports the USB boot protocol. Other keyboards intended for use on the Macintosh platform must support the HID boot protocol, as defined in the USB Device Class Definition for Human Interface Devices (HIDs). For information about the USB HID definition, see the HID reference in USB Interface.
Mouse
The eMac comes with an Apple Pro Mouse. The mouse case is made of polycarbonate plastic like the computer.
The Apple Pro Mouse uses optical tracking in place of the traditional rolling ball. It works on almost any surface, though non-reflective, opaque surface without repetitive patterns work best.
Sound System
The sound system provides high-quality stereo sound input and output through the built-in microphone and speakers. The user can also connect external input and output devices by way of the sound input and output jacks.
To maintain the highest fidelity when digital audio program material from CDs is played, the audio data is kept in digital form until just before being sent to the internal speakers or the headphone jack.
The sound system is based on a set of ICs called Snapper that perform digital audio processing functions such as output equalization, dynamic range compression, and volume control.
The sound system supports sample sizes up to 16 bits at a sample rate of 44.1 kHz.
Sound Inputs
The sound system accepts inputs from five possible sources:
built-in microphone
external stereo sound input jack
sound from internal optical drive
call progress audio from the internal modem
sound from USB audio devices
Built-in Microphone
The sound signal from the built-in microphone is amplified by a preamp and sent to the codec circuits in the Snapper IC.
External Sound Input Jack
The external sound input jack is a 3.5 mm miniature phone jack located on the I/O panel on the right side of the computer. The sound input jack accepts line-level stereo signals. It also accepts a stereo miniplug-to-RCA cable adapter for connecting stereo equipment to the computer.
The sound input jack signal connections are:
tip: audio left channel
ring: audio right channel
sleeve: audio ground
The sound input jack has the following electrical characteristics:
input impedance: nominal 40 kilohms
maximum level: nominal 2 V rms (5.6 V peak-to-peak)
Sound Outputs
The sound system sends computer-generated sounds to two destinations:
built-in stereo speakers
headphone jack
Internal Speakers
The computer has two internal speakers. The computer turns off the sound signals to the internal speakers under the following conditions:
when headphones are plugged into the headphone jack
when external USB speakers are connected
during Sleep mode
Headphone Jack
The headphone jack is located on the I/O panel on the right side of the computer. The jack provides enough current to drive a pair of low-impedance headphones.
The headphone jack has the following electrical characteristics:
output impedance: 5.0 ohms (nominal)
maximum level: 1.0 Vrms (2.8 V peak-to-peak)
Headphones should have an impedance not lower than the recommended minimum impedance of 32 ohms. Headphones with lower impedance can be used, but with some degradation in performance.
Sound Specifications
The frequency response of the sound circuits, not including the microphone and speakers, is within plus or minus 1 dB from 20 Hz to 20 kHz.
Total harmonic distortion plus noise (THD+N) as a percentage of full scale are shown in Table 3-8.
Connector | THD+N |
|---|---|
Line input | 0.03% |
Headphone jack, open circuit | 0.03% |
Headphone jack, 32 ohm headphones | 0.5% |
The signal-to-noise ratios (SNR) for various inputs and outputs are shown in Table 3-9. The values shown are unweighted.
Copyright © 2002 Apple Computer, Inc. All Rights Reserved. Terms of Use | Privacy Policy | Updated: 2002-10-01