Retired Document
Important: This document may not represent best practices for current development. Links to downloads and other resources may no longer be valid.
Devices and Ports
This chapter describes both the built-in I/O devices and the ports for connecting external I/O devices. Each of the following sections describes an I/O port or device.
USB Ports
The eMac has three Universal Serial Bus (USB) ports. The USB ports are connected to two separate USB root hubs, allowing two of the USB ports to support 12 Mbps devices at the same time with no degradation of their performance. See Uni-N Bridge and Memory Controller.
For more information about USB on Macintosh computers, please refer to Apple Computer’s Mac OS USB DDK API Reference and the other sources listed in USB Interface.
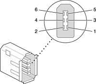
USB Connectors
The USB ports use USB Type A connectors, which have four pins each. Two of the pins are used for power and two for data. Figure 3-1 is an illustration of a Type A port; Table 3-1 shows the signals and pin assignments.

Pin |
Signal name |
Description |
|---|---|---|
1 |
VCC |
+5 VDC |
2 |
D– |
Data – |
3 |
D+ |
Data + |
4 |
GND |
Ground |
The eMac provides 5 volt power to the USB ports. The maximum current available is 500 mA on each port.
The USB ports support both low-speed and high-speed data transfers, at up to 1.5 Mbits per second and 12 Mbits per second, respectively. High-speed operation requires the use of shielded cables.
The Macintosh system software supports all four data transfer types defined in the USB specification.
USB Features
Features of the USB ports include power saving modes and the ability to boot the CD/ROM and Combo drive configurations of the eMac into Mac OS 9 using a USB mass-storage device.
Wake Up From Sleep
USB devices can provide a remote wakeup function for the computer. The USB root hub in the computer is set to support remote wakeup whenever a device is attached to or disconnected from the bus. The keyboard that comes with the computer uses this method to wake the computer on a key press.
Connect and Resume
The KeyLargo IC contains special circuitry that allows the computer to wake from Sleep mode on connect, disconnect, and resume events. Compatible USB devices should support the USB-suspend mode defined in the USB specification.
USB Device Drivers
Class drivers are software components that are able to communicate with many USB devices of a particular kind. If the appropriate class driver is present, any number of compliant devices can be plugged in and start working immediately without the need to install additional software.
USB Controller
The eMac uses an Open Host Controller Interface (OHCI) controller for USB communication. Some early USB devices (most notably keyboards) can’t interoperate with an OHCI controller. Those devices are not supported by the Macintosh USB system software.
FireWire 400 Ports
The eMac has two external FireWire 400 IEEE 1394a ports. The features of the FireWire 400 ports are:
Support serial I/O at 100, 200, and 400 Mbps (megabits per second)
Share up to 8 watts of power when the computer system is on
Support up to 62 devices
The FireWire 400 hardware and software provided with the eMac are capable of all asynchronous and isochronous transfers defined by the IEEE 1394a standard.
FireWire 400 Device Programming
A generic driver for mass storage devices is included in the system software. This driver is used only when a vendor-specific driver cannot be found. Apple recommends that users install vendor-provided drivers for maximum performance and functionality.
A driver for DV (digital video) is included in QuickTime 4.0 and later versions.
The eMac can boot from a FireWire 400 storage device that implements SBP-2 (Serial Bus Protocol) with the RBC (reduced block commands) command set. Detailed information is available only under non-disclosure agreement; contact Developer Technical Support at dts@apple.com.
When connected to another computer by a FireWire 400 bus, the eMac can operate as a mass storage device. See Target Disk Mode.
For additional information about the FireWire 400 interface and the Apple APIs for FireWire 400 device control, refer to the resources listed in FireWire Interface.
FireWire 400 Connector
The FireWire 400 connector has six contacts, as shown in Figure 3-2. The connector signals and pin assignments are shown in Table 3-2.

Pin |
Signal name |
Description |
|---|---|---|
1 |
Power |
unregulated DC; 17-24 V no load |
2 |
Ground |
Ground return for power and inner cable shield |
3 |
TPB– |
Twisted-pair B, differential signals |
4 |
TPB+ |
Twisted-pair B, differential signals |
5 |
TPA– |
Twisted-pair A, differential signals |
6 |
TPA+ |
Twisted-pair A, differential signals |
Shell |
— |
Outer cable shield |
When the computer is on, the power pin provides a maximum voltage of 24 V (no load) and up to 8 W total power (shared by both connectors). Zero voltage is present at the power pin when the computer is in sleep mode or when it is off.
The FireWire 400 PHY is powered as long as the computer is connected to AC power. While the PHY is operating, it acts as a repeater from one port to another so that the FireWire 400 bus remains connected.
Pin 2 of the 6-pin FireWire 400 connector is ground for both power and inner cable shield. If a 4-pin connector is used on the other end of the FireWire 400 cable, its shell should be connected to the wire from pin 2.
The signal pairs are crossed in the cable itself so that pins 5 and 6 at one end of the cable connect with pins 3 and 4 at the other end. When transmitting, pins 3 and 4 carry data and pins 5 and 6 carry clock; when receiving, the reverse is true.
For additional information about the FireWire 400 interface and the Apple APIs for FireWire 400 device control, developers should refer to the resources listed in FireWire Interface.
Target Disk Mode
The user has the option at boot time to put the computer into a mode of operation called Target Disk Mode (TDM).
When the eMac is in Target Disk Mode and connected to another Macintosh computer by a FireWire cable, the eMac operates like a FireWire mass storage device with the SBP-2 (Serial Bus Protocol) standard. Target Disk Mode has two primary uses:
high-speed data transfer between computers
diagnosis and repair of a corrupted internal hard drive
The eMac can operate in Target Disk Mode as long as the other computer has a FireWire port and either Mac OS X (any version) or Mac OS 9 with FireWire software version 2.3.3 or later.
To put the eMac into Target Disk Mode, restart the eMac and hold down the T key until the FireWire icon appears on the display. Then connect a FireWire cable from the eMac to the other computer. When the other computer completes the FireWire connection, a hard disk icon appears on its desktop.
If the FireWire cable is disconnect or the eMac turned off while in Target Disk Mode, an alert appears on the other computer.
To take the eMac out of Target Disk Mode, drag the hard-disk icon on the other computer to the trash, then press the power button on the eMac.
Ethernet Port
The eMac has a built-in 10/100 Mbps Ethernet port. The user can connect it to an Ethernet cable from a hub, switch, or router, or to another Macintosh computer using a cross-connect cable. The connected device can be either a 10Base-T or a 100Base-TX device; the port automatically detects which type of device is connected.
The connector for the Ethernet port is a an RJ-45 connector located on the I/O panel. Table 3-3 shows the signals and pin assignments on the connector.
Pin |
Signal name |
Signal definition |
|---|---|---|
1 |
TXP |
Transmit (positive lead) |
2 |
TXN |
Transmit (negative lead) |
3 |
RXP |
Receive (positive lead) |
4 |
– |
Not used |
5 |
– |
Not used |
6 |
RXN |
Receive (negative lead) |
7 |
– |
Not used |
8 |
– |
Not used |
The Ethernet interface in the eMac conforms to the ISO/IEC 802.3 specification, where applicable.
Internal Modem
Except for the educational configuration, the eMac has an internal, USB fax modem. The telephone connector for the modem is an RJ-11 connector on the I/O panel. A telephone cable is included with the computer.
The Micro Dash modem has the following features:
modem bit rates up to 56 Kbps (supports V.92 and K56flex modem standards)
Group 3 fax modem bit rates up to 14.4 Kbps
The modem appears to the system as a serial port that responds to the typical AT commands. The modem provides an analog sound output for monitoring the progress of the modem connection.
AirPort Extreme Card
The eMac supports the AirPort Extreme Card, an internal wireless LAN module connected to the PCI bus. The AirPort Extreme Card is available as a build-to-order option or as a user-installable upgrade.
By communicating wirelessly with a base station, the AirPort Extreme Card can be used for Internet access, email access, and file exchange. A base station provides the connection to the Internet or the bridge between the wireless signals and a wired LAN or both. The AirPort Extreme Base Station has connectors for a wired LAN or WAN, a DSL or cable modem, and a standard telephone line using the built-in 56 Kbps modem that is available on some base station configurations.
AirPort Extreme transmits and receives data at speeds up to 54 Mbps, comparable to wired networking speeds. AirPort Extreme is compatible with earlier AirPort systems as well as other devices that adhere to the IEEE 802.11b and 802.11g standards. For more information about Wi-Fi and compatibility, see the reference at Wireless Networks.
Data Security
AirPort Extreme has several features designed to maintain the security of the user’s data:
The system uses direct-sequence spread-spectrum (DSSS) technology that uses a multibit spreading code that effectively scrambles the data for any receiver that lacks the corresponding code.
The system can use an Access Control List of authentic network client ID values (wireless and MAC Addresses) to verify each client’s identity before granting access to the network.
AirPort Extreme supports over-the-air encryption standards, including 40-bit and 128-bit WEP and WPA.
The AirPort Extreme Base Station can be configured to use NAT (Network Address Translation), protecting data from would-be Internet hackers.
The AirPort Extreme Base Station can authenticate users by their unique Ethernet IDs, preventing unauthorized computers from logging into a network. Network administrators can take advantage of RADIUS compatibility, used for authenticating users over a remote server. Smaller networks can offer the same security using a local look-up table located within the base station.
As an additional data security measure, VPN can be used in conjunction with the AirPort Extreme data security.
AirPort Extreme Hardware
The AirPort Extreme Card is a wireless LAN module based on the IEEE specification of the 802.11g standard using both OFDM (orthogonal frequency-division multiplexing) and DSSS technologies. Using DSSS, AirPort Extreme is interoperable with PC-compatible wireless LANs that conform to the 802.11b standard at speeds of 11 Mbps, 5.5 Mbps, 2 Mbps, and 1 Mbps. Using OFDM, AirPort Extreme is compatible with all 802.11g standard speeds.
Two AirPort Extreme antennas are built into the computer’s enclosure. One antenna is always used for transmitting. Either of the two antennas may be used for receiving. Using a diversity technique, the AirPort Extreme Card selects the antenna that gives the best reception.
AirPort Extreme Software
Software that is provided with the AirPort Extreme Card includes
AirPort Setup Assistant, an easy-to-use program that guides the user through the steps necessary to set up the AirPort Extreme Card or set up an AirPort Extreme Base Station.
Users can switch between wireless networks and can create and join peer-to-peer networks. These functions are accessed via the AirPort - Menu-Extra pulldown in System Preferences.
AirPort Admin Utility, a utility for advanced users and system administrators. With it the user can edit the administrative and advanced settings needed for some advanced configurations.
Hard Disk Drive
The internal hard disk drive has a storage capacity of 40 GB for the CD-ROM and Combo drive configurations and 80 GB for the SuperDrive configuration. Some configurations have 80 GB and 160 GB build-to-order options. The drive uses the ATA interface and is configured as Device 0 via Cable Select setting. The drive is capable of Ultra DMA Mode 4, 66 megabytes per second of data transfer speed. This interface is compatible with ANSI-NCITS industry standard ATA/ATAPI-6.
The software that supports the internal hard disk is similar to that in previous Macintosh models with internal IDE drives and includes DMA support. To obtain information about that software and about the ANSI standard for the Ultra DMA data transfer, see ATA Interface.
CD-ROM Drive
One configuration of the eMac has an internal CD-ROM drive. The drive has a tray for loading the disc. The drive is capable of reading at 32x speed.
Digital audio signals from the CD-ROM drive can be played through the sound outputs under the control of System Preferences.
The CD-ROM drive is an ATAPI drive and is cable-select jumpered as master in an ATA Device configuration.
Combo Drive DVD-ROM/CD-RW
One configuration of the eMac has a tray-loading combination DVD-ROM and CD-RW drive. The Combo drive can read DVD media and read and write CD media, as shown in Table 3-4. The DVD-ROM/CD-RW drive also provides DVD-Video playback.
Media type |
Reading speed |
Writing speed |
|---|---|---|
DVD-ROM |
8x (CAV) |
– |
DVD-R |
4x max (CAV) |
_ |
CD-R |
32x (CAV) |
32x max |
CD-RW |
20x (CAV) |
10x (CLV) |
CD-ROM |
32x (CAV) |
– |
Digital audio signals from the DVD-ROM/CD-RW drive can be played through the sound outputs under the control of System Preferences.
The Combo drive is connected as device 0 (master) to an independent ATA interface capable of multi-word DMA mode 2, 16 megabytes per second. This interface is compatible with ANSI-NCITS industry standard ATA/ATAPI-5.
SuperDrive DVD-R/CD-RW Drive
One configuration of the eMac has a tray-loading CD-RW and DVD-R SuperDrive. The drive can read and write DVD media and CD media, as shown in Table 3-5. The SuperDrive also provides DVD-Video playback with DVD MPEG 2 decode.
Media type |
Reading speed |
Writing speed |
|---|---|---|
DVD-R |
2x |
4x, 2x, 1x depending on media |
DVD-ROM |
8x (single layer), 2x (dual layer) |
– |
DVD-RW |
2x |
2x, 1x depending on media |
CD-R |
32x max |
16x |
CD-RW |
32x max |
8x, 4x depending on media |
CD or CD-ROM |
32x max |
– |
Digital audio signals from the SuperDrive can be played through the sound outputs under the control of System Preferences.
The SuperDrive is connected as device 0 (master) to an independent ATA interface capable of multi-word DMA mode 2, 16 megabytes per second. This interface is compatible with ANSI-NCITS industry standard ATA/ATAPI-5.
Video Display
The built-in video display uses a 17-inch CRT (16-inch viewable diagonal). The CRT uses shadow-mask technology and has a dot pitch of 0.25 mm. The display has a fixed horizontal scan rate (72 kHz) and supports five resolutions. Table 3-6 lists the resolutions and the vertical scan rates supported.
The display supports pixel depths up to 24 bits (millions of colors) at all resolutions.
Resolution |
Vertical rate |
Pixel depth |
|---|---|---|
640 by 480 |
138 Hz |
24 bits |
800 by 600 |
112 Hz |
24 bits |
1024 by 768 |
89.0 Hz |
24 bits |
1152 by 864 |
80.0 Hz |
24 bits |
1280 by 960 |
72.0 Hz |
24 bits |
External Display Port
The eMac has a video output port for connecting an external video monitor or projector. The port supports both RGB and composite/S-video signals (for VGA and TV) by means of adapters. The port detects the type of adapter connected to it and programs the graphics IC to provide the appropriate type of video signals, as shown in the table below.
Adapter type |
Video signals |
Connector type(s) |
|---|---|---|
Apple VGA adapter |
RGB |
VGA 15-pin miniature D-type |
Apple Video adapter |
Composite and S-video TV signals |
RCA and S-video |
Resolutions supported are nominally 640 by 480, 800 by 600, and 1024 by 768 pixels (based on the EDID and attached monitor). When either type of display adapter is connected, the settings for the resolutions with multiple vertical refresh rates are selectable in System Preferences.
Composite video and S-video signals can be displayed on either an NTSC display or a PAL display. When a display is connected by way of the video adapter, the computer detects the type of adapter and enables the composite and S-video outputs. The settings for the resolutions and standards (NTSC or PAL) are then selectable in the monitor control panel or control strip.
The video output mirrors the flat panel display: internal and external video share the same buffer, and the hardware sends the image to both displays.
Video Display Connector
The video display connector is a 14-pin rectangular connector (Hosiden TCX3143 or compatible). The connector pins are identified in Figure 3-3.

The eMac detects the type of display adapter that is plugged in and programs the graphics IC to route the appropriate video signals to the connector. The signal assignments on the video connector are shown in Table 3-8. The signal assignments for the video adapter are shown in Table 3-9.
Pin |
Signal name |
Pin |
Signal name |
|---|---|---|---|
1 |
Ground |
8 |
+5 volts |
2 |
VSync |
9 |
Blue video |
3 |
Hsync |
10 |
DDC data |
4 |
Red return |
11 |
DDC clock |
5 |
Red video |
12 |
Ground |
6 |
Green return |
13 |
/Cable detect |
7 |
Green video |
14 |
Blue return |
Pin |
Signal name |
Pin |
Signal name |
|---|---|---|---|
1 |
Ground |
8 |
+5 volts |
2 |
n.c. |
9 |
Composite video |
3 |
n.c. |
10 |
DDC data |
4 |
Ground |
11 |
DDC clock |
5 |
S-video C |
12 |
Ground |
6 |
Ground |
13 |
Ground (for /Cable Detect) |
7 |
S-video Y |
14 |
Ground |
The cable detect function on pin 13 is implemented by connecting pin 13 to ground in the display cable. The computer detects the video adapter by reading its EDID (Extended Display Identification Data) via DDC.
The video display connector is compliant with the VESA specification (DDC version 3).
Older Monitors Not Supported
The computer supports current video monitors. The detection scheme on some older monitors are not supported and will use default configurations, including the following Apple monitors:
Multiple Scan 17
Multiple Scan 20
AudioVision 14
Apple Hi-Res RGB
Apple 16" Color
Apple Hi-Res Monochrome
Macintosh 12" RGB
Keyboard
The eMac comes with an Apple Keyboard. It is a USB compatible full-size keyboard with 16 function keys and separate groups of numeric keypad and editing keys.
The keyboard also provides two additional USB ports; see Keyboard and USB.
Keyboard Features
Here is a list of the features of the Apple Keyboard.
Fixed slope keyboard
109 keys (on the ANSI versions)
16 function keys
6 editing keys (Page Up, Page Down, Home, End, Forward Delete, and Help)
USB HID Consumer Page Usage multimedia control keys
Full travel, standard pitch keys on alphanumeric, editing, and keypad sections, including function keys and cursor position keys
Localized worldwide: 33 versions, 3 standard layouts (ANSI, JIS, ISO)
LED indicator on the Num Lock key
USB hub functionality with two Type A USB bus-powered ports
Keyboard Layout
There are localized versions of the Apple Keyboard for use in different parts of the world. The three standards used are ANSI (US and North America), JIS (Japan), and ISO (Europe). Figure 3-4 shows the keyboard layout for the ANSI keyboard.
Applications can determine which keyboard is connected by calling the Gestalt Manager and checking for the corresponding value of the gestaltKeyboardType selector.


MultiMedia Control Keys
The keyboard has six multimedia keys: Volume Up, Volume Down, Mute, Brightness Up (F15), Brightness Down (F14), and Eject. Theses keys provide direct control of the features on the computer by way of the USB.
Keyboard and USB
The Apple Keyboard is designed to work with the eMac by way of the USB ports. The keyboard has a captive cable with a USB Type A connector. The keyboard is a bus-powered USB hub with two USB Type A ports.
Apple provides a HID class driver for the Apple USB keyboard, which supports the USB boot protocol. Other keyboards intended for use on the Macintosh platform must support the HID boot protocol, as defined in the USB Device Class Definition for Human Interface Devices (HIDs). For information about the USB HID definition, see the HID reference in USB Interface.
Mouse
The eMac comes with an Apple Mouse. The mouse case is made of polycarbonate plastic like the computer.
The Apple Mouse uses optical tracking in place of the traditional rolling ball. It works on almost any surface, though non-reflective, opaque surface without repetitive patterns work best.
Sound System
The sound system provides high-quality stereo sound input and output through the built-in microphone and speakers. The user can also connect external input and output devices by way of the sound input and output jacks.
To maintain the highest fidelity when digital audio program material from CDs is played, the audio data is kept in digital form until just before being sent to the internal speakers or the headphone jack.
The sound system is based on a set of ICs that perform digital audio processing functions such as output equalization, dynamic range compression, and volume control.
The sound system supports sample sizes up to 16 bits at a sample rate of 44.1 kHz.
Sound Inputs
The sound system accepts inputs from five possible sources:
built-in microphone
external audio line-in jack
sound from internal optical drive
call progress audio from the internal modem
sound from USB audio devices
sound input from FireWire audio devices
Built-in Microphone
The sound signal from the built-in microphone is amplified by a preamp and sent to the codec circuits in the audio IC.
External Audio Line-in Jack
The audio line-in jack is a 3.5 mm miniature phone jack located on the I/O panel on the right side of the computer. The line-in jack accepts line-level stereo signals. It also accepts a stereo miniplug-to-RCA cable adapter for connecting stereo equipment to the computer.
The line-in jack signal connections are:
tip: audio left channel
ring: audio right channel
sleeve: audio ground
The line-in jack has the following electrical characteristics:
input impedance: nominal 40 kilohms
maximum level: nominal 2 V rms (5.6 V peak-to-peak)
Sound Outputs
The sound system sends computer-generated sounds to two destinations:
Internal Speakers
The computer has two internal speakers. The computer turns off the sound signals to the internal speakers under the following conditions:
when headphones are plugged into the headphone jack
when external USB speakers are connected and selected in Sound Preferences Output pane
during sleep mode
Headphone Jack
The headphone jack is located on the I/O panel on the right side of the computer. The jack provides enough current to drive a pair of low-impedance headphones.
The headphone jack has the following electrical characteristics:
output impedance: 5.0 ohms (nominal)
maximum level: 1.5 Vrms (4.2 V peak-to-peak)
Headphones should have an impedance not lower than the recommended minimum impedance of 32 ohms. Headphones with lower impedance can be used, but with some degradation in performance.
Sound Specifications
The frequency response of the sound circuits, not including the microphone and speakers, is within plus 1 dB or minus 3 dB from 20 Hz to 20 kHz.
Total harmonic distortion plus noise (THD+N) as a percentage of full scale are shown in Table 3-10.
Connector |
THD+N |
|---|---|
Line input |
0.03% |
Headphone jack, open circuit |
0.03% |
Headphone jack, 32 ohm headphones |
0.5% |
The signal-to-noise ratios (SNR) for various inputs and outputs are shown in Table 3-11. The values shown are unweighted.
Connector |
Signal-to-noise ratio |
|---|---|
Microphone |
65 dB |
Headphone jack |
90 dB |
Line input |
85 dB |
Internal CD or DVD |
90 dB |
Copyright © 2001, 2003 Apple Computer, Inc. All Rights Reserved. Terms of Use | Privacy Policy | Updated: 2003-11-20