Retired Document
Important: This document may not represent best practices for current development. Links to downloads and other resources may no longer be valid.
Devices and Ports
This chapter describes both the built-in I/O devices and the ports for connecting external I/O devices on the iMac. Each of the following sections describes an I/O port or device.
USB Ports
The iMac has five Universal Serial Bus (USB) ports that are used for connecting the keyboard and mouse as well as additional I/O devices such as printers, scanners, and storage devices. Three USB 2.0 ports are on the back of the iMac and two USB 1.1 ports are on the keyboard. The three USB 2.0 ports are connected to a discrete USB 2.0 controller chip. The internal modem and Bluetooth module are connected to the Intrepid ASIC via a USB 1.1 connection. See USB Interface for reference information.
For more information about USB on Macintosh computers, please refer to sources listed in USB Interface.
USB Connectors
The USB ports use USB Type A connectors, which have four pins each. Two of the pins are used for power and two for data. Figure 3-1 is an illustration of a Type A port; Table 3-1 shows the signals and pin assignments.

Pin |
Signal name |
Description |
|---|---|---|
1 |
VCC |
+5 VDC |
2 |
D– |
Data – |
3 |
D+ |
Data + |
4 |
GND |
Ground |
The iMac provides 5-volt power to the USB 2.0 ports. The maximum current available is 500 mA on each port.
The external USB 2.0 ports support low-speed (1.5 Mbps), full-speed (12 Mbps), and high-speed (480 Mbps) data transfers. High-speed operation requires the use of shielded cables.
The Macintosh USB system software supports all four data transfer types defined in the USB specification.
USB Features
Features of the USB ports are listed in the following paragraphs.
Wake Up From Sleep
USB devices can provide a remote wakeup function for the computer. The USB root hub in the computer is set to support remote wakeup whenever a device is attached to or disconnected from the bus. The keyboard that comes with the computer uses this method to wake the computer on a key press.
Connect and Resume
The Intrepid ASIC contains special circuitry that allows the computer to wake from sleep mode on connect, disconnect, and resume events. Compatible USB devices should support the USB-suspend mode defined in the USB specification.
USB Device Drivers
Class drivers are software components that are able to communicate with many USB devices of a particular kind. If the appropriate class driver is present, any number of compliant devices can be plugged in and start working immediately without the need to install additional software. The Mac OS for the iMac supports USB Mass Storage specification.
USB Controller
The iMac uses an Open Host Controller Interface (OHCI) controller for USB communication. Some early USB devices (most notably keyboards) can’t interoperate with an OHCI controller. Those devices are not supported by the Macintosh USB system software. The USB 2.0 controllers comply with the Enhanced Host Controller Interface (EHCI) specification.
FireWire 400 Ports
The iMac has two external FireWire 400 IEEE 1394a ports. The features of the FireWire 400 ports are:
Support serial I/O at 100, 200, and 400 Mbps (megabits per second)
Share 8 watts per port of power when the computer system is on
Support up to 62 devices
The FireWire 400 hardware and software provided with the iMac are capable of all asynchronous and isochronous transfers defined by IEEE standard 1394a.
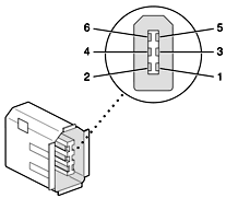
FireWire 400 Connector
The FireWire400 connector has six contacts, as shown in Figure 3-2. The connector signals and pin assignments are shown in Table 3-2.

Pin |
Signal name |
Description |
|---|---|---|
1 |
Power |
regulated, 12 VDC for 15” and 17” models and 24 VDC for the 20” model |
2 |
Ground |
Ground return for power and inner cable shield |
3 |
TPB– |
Twisted-pair B, differential signals |
4 |
TPB+ |
Twisted-pair B, differential signals |
5 |
TPA– |
Twisted-pair A, differential signals |
6 |
TPA+ |
Twisted-pair A, differential signals |
Shell |
— |
Outer cable shield |
When the computer is on, the power pins provide a regulated power and 8 W per port total. Zero voltage is present at the power pins when the computer is off. Power is provided during sleep mode.
Pin 2 of the 6-pin FireWire 400 connector is ground for both power and inner cable shield. If a 4-pin connector is used on the other end of the FireWire 400 cable, its shell should be connected to the wire from pin 2.
The signal pairs are crossed in the cable itself so that pins 5 and 6 at one end of the cable connect with pins 3 and 4 at the other end. When transmitting, pins 3 and 4 carry data and pins 5 and 6 carry clock; when receiving, the reverse is true.
For additional information about the FireWire 400 interface and the Apple APIs for FireWire 400 device control, developers should refer to the resources listed in FireWire 400 Interface.
Target Disk Mode
The user has the option at boot time to put the computer into a mode of operation called Target Disk Mode (TDM).
When the iMac is in Target Disk Mode and connected to another Macintosh computer by a FireWire 400 cable, the iMac operates like a FireWire mass storage device with the SBP-2 (Serial Bus Protocol) standard. Target Disk Mode has two primary uses:
high-speed data transfer between computers
diagnosis and repair of a corrupted internal hard drive
The iMac can operate in Target Disk Mode as long as the other computer has a FireWire 400 port and either Mac OS X (any version) or Mac OS 9 with FireWire 400 software version 2.3.3 or later.
To put the iMac into Target Disk mode, you restart the iMac and hold down the T key until the FireWire icon appears on the display. You then connect a FireWire 400 cable from the iMac to the other computer. When the other computer completes the FireWire 400 connection, a hard disk icon appears on its desktop.
If you disconnect the FireWire 400 cable or turn off the iMac while in Target Disk Mode, an alert appears on the other computer.
To take the iMac out of Target Disk Mode, you drag the hard disk icon on the other computer to the trash, then press the power button on the iMac.
Ethernet Port
The iMac has a built-in 10/100 Mbps Ethernet port. The user can connect it to either a 10Base-T or a 100Base-TX hub; the port will automatically sense which type of hub is connected.
Both CAT 5 unshielded twisted pair (UTP) and shielded twisted pair (STP) cables work with the Ethernet port. An STP cable is recommended for noisy environments or run of greater than 100 meters.
The connector for the Ethernet port is a an RJ-45 connector located on the I/O panel. Table 3-3 shows the signals and pin assignments on the connector.
Pin |
Signal name |
Signal definition |
|---|---|---|
1 |
TXP |
Transmit (positive lead) |
2 |
TXN |
Transmit (negative lead) |
3 |
RXP |
Receive (positive lead) |
4 |
– |
Not used |
5 |
– |
Not used |
6 |
RXN |
Receive (negative lead) |
7 |
– |
Not used |
8 |
– |
Not used |
The Ethernet interface in the iMac conforms to the ISO/IEC 802.3 specification, where applicable.
AirPort Extreme Card
The iMac supports the AirPort Extreme Card, an internal wireless LAN module. The AirPort Extreme Card is available as a build-to-order option or as a user-installable upgrade.
By communicating wirelessly with a base station, the AirPort Extreme Card can be used for internet access, email access, and file exchange. A base station provides the connection to the internet or the bridge between the wireless signals and a wired LAN or both. The AirPort Extreme Base Station has connectors for a wired LAN, a DSL or cable modem, and a standard telephone line using the optional 56K modem that is built-in on some models.
AirPort Extreme transmits and receives data at speeds up to 54 Mbps. AirPort Extreme is compatible with earlier AirPort systems as well as other devices that adhere to the IEEE 802.11b and 802.11g standards. For more information about Wi-Fi and compatibility, see the reference at Wireless Networks.
AirPort Extreme Data Security
AirPort Extreme has several features designed to maintain the security of the user’s data:
The system uses direct-sequence spread-spectrum (DSSS) technology that uses a multibit spreading code that effectively scrambles the data for any receiver that lacks the corresponding code.
The system can use an Access Control List of authentic network client ID values (wireless and MAC Addresses) to verify each client’s identity before granting access to the network.
AirPort Extreme supports over-the-air encryption standards, including 40-bit and 128-bit WEP and WPA.
The AirPort Extreme Base Station can be configured to use NAT (Network Address Translation), protecting data from would-be Internet hackers.
The AirPort Extreme Base Station can authenticate users by their unique Ethernet IDs, preventing unauthorized computers from logging into a network. Network administrators can take advantage of RADIUS compatibility, used for authenticating users over a remote server. Smaller networks can offer the same security using a local look-up table located within the base station.
As an additional data security measure, VPN can be used in conjunction with the AirPort Extreme data security.
AirPort Extreme Hardware
The AirPort Extreme Card is a wireless LAN module based on the IEEE 802.11g standard using both OFDM (orthogonal frequency-division multiplexing) and DSSS technologies. Using DSSS, AirPort Extreme is interoperable with PC-compatible wireless LANs that conform to the 802.11b standard at speeds of 11 Mbps, 5.5 Mbps, 2 Mbps, and 1 Mbps. Using OFDM, AirPort Extreme is compatible with all 802.11g standard speeds.
Two AirPort Extreme antennas are built into the computer’s enclosure. One antenna is always used for transmitting. Either of the two antennas may be used for receiving. Using a diversity technique, the AirPort Extreme Card selects the antenna that gives the best reception. AirPort Extreme shares the antennas with Bluetooth.
The AirPort Extreme wireless LAN is on the PCI bus.
AirPort Extreme Software
Software that is provided with the AirPort Extreme Card includes
AirPort Extreme Setup Assistant, an easy-to-use program that guides the user through the steps necessary to set up the AirPort Extreme Card or set up an AirPort Extreme Base Station.
Users can switch between wireless networks and can create and join peer-to-peer networks. These functions are accessed via the AirPort Extreme- Menu-Extra pulldown in System Preferences.
AirPort Extreme Admin Utility, a utility for advanced users and system administrators. With it the user can edit the administrative and advanced settings needed for some advanced configurations.
Internal Modem
The iMac comes with a built-in modem. The telephone connector for the modem is an RJ-11 connector on the I/O panel.
The modem has the following features:
modem bit rates up to 56 Kbps (supports V.92 and K56flex modem standards)
Group 3 fax modem bit rates up to 14.4 Kbps
The modem appears to the system as a USB device that responds to the typical AT commands. The modem provides an analog sound output for monitoring the progress of the modem connection.
Bluetooth Technology
Bluetooth is an internal build-to-order option in the iMac. Bluetooth is an open specification that enables short-range wireless connections between desktop and laptop computers and a host of other peripheral devices. Bluetooth support is built into Mac OS X and compliant with Bluetooth specification v1.1. It operates on a globally available 2.4 GHz frequency band (ISM band) for worldwide compatibility and has a maximum throughput of 1Mbps.
The Bluetooth technology supports the following profiles:
synchronization —enables synchronization of devices over Bluetooth
serial —provides a wireless serial connection to other Bluetooth devices
dial-up networking (DUN) — enables a mobile phone to act as a modem
object push —enables the transfer of files between Bluetooth devices
human interface device (HID) — enables the use of Bluetooth input devices (keyboards and mice)
Bluetooth file transfer profile (FTP) — enables browsing of the file system of other Bluetooth devices which support Bluetooth FTP
In the iMac, Bluetooth is available as a build-to-order option which is installed by Apple at the time of purchase as a fully integrated module. Accessing the Bluetooth capabilities without purchasing the integrated module will require a third-party dongle.
For more information on Bluetooth technology, refer to Bluetooth.
Hard Disk Drive
The internal hard disk drive has a storage capacity of 80 GB, uses the Ultra ATA-100 interface, and spins at 7200 rpm. The internal hard disk drive conforms to a subset of ATA/ATAPI-6 and -5 protocols and is connected as Cable Select (CS) in an ATA Device 0/1 configuration.
The software that supports the internal hard disk is similar to that in previous Macintosh models and includes DMA support. To obtain information about that software and about the ANSI standard for the Ultra DMA ATA interface, see ATA Interface.
SuperDrive (CD-RW/DVD-R)
The 17” and 20” iMac have a tray-loading, combination DVD-R and CD-RW SuperDrive.
The drive can read and write DVD media and CD media, as shown in Table 3-4. The host provides DVD-Video playback with DVD MPEG2 decode.
Media type |
Reading speed |
Writing speed |
|---|---|---|
DVD-R |
2x |
4x, 2x, 1x depending on media |
DVD-ROM |
8x max (single layer), 2x (dual layer) |
– |
DVD-RW |
2x |
2x, 1x depending on media |
CD-R |
32x max |
16x |
CD-RW |
32x max |
8x, 4x depending on media |
CD-ROM |
32x max |
– |
Digital audio signals from the SuperDrive can be played through the sound outputs under the control of the Sound Manager in System Preferences.
The SuperDrive is configured as device 0 (master) by cable select jumper and complies with ATA/ATAPI-5 industry standard.
Combo (CD-RW/DVD-ROM) Drive
The 15” iMac has a combination CD-RW and DVD-ROM drive. The combination drive has a tray for loading the disc.
The drive can read DVD media and read and write CD media, as shown in Table 3-5. The Combo drive also provides DVD-Video playback with DVD MPEG2 decode.
Media type |
Reading speed |
Writing speed |
|---|---|---|
DVD-ROM |
8x (CAV) |
– |
DVD-R |
4.8x max (CAV) |
_ |
CD-R |
32x (CAV) |
32x max |
CD-RW |
20x (CAV) |
10x (CLV) |
CD or CD-ROM |
32x (CAV) |
– |
Digital audio signals from the Combo drive can be played through the sound outputs under the control of the Sound Manager in System Preferences.
The Combo drive is configured as device 0 (master) by cable select jumper and complies with ATA/ATAPI-5 industry standard.
Flat Panel Display
Measured diagonally, the flat-panel iMac has a built-in 20-inch widescreen,17-inch widescreen, or 15-inch color display. The display is backlit by a cold cathode fluorescent lamp (CCFL). The display uses TFT (thin-film transistor) technology for high contrast and fast response.
The 17-inch display contains 1440x900 pixels and the 20-inch display contains 1680x1050 pixels. Both graphics subsystems use an nVidia GeForce FX 5200 Ultra with 64 MB of DDR RAM and can show up to millions of colors.
The 15-inch display contains 1024x768 pixels and can show up to millions of colors. The graphics subsystem uses an nVidia GeForce4 MX with 32 MB of DDR RAM.
All three displays support 3D acceleration and display depths up to 24 bits per pixel at all screen resolutions. For more information, see Video Display Subsystem .
Both graphics ICs include a scaling function that expands smaller-sized images to fill the screen. By means of the scaling function, the iMac can show full-screen images at the resolutions listed in Table 3-6 for the 20” model, Table 3-7 for the 17” model, and Table 3-8 for the 15” model.
Resolution |
Aspect ratio |
Notes |
|---|---|---|
640 by 480 |
4:3 |
* |
640 by 480 |
4:3 |
*stretched to fit full screen |
800 by 500 |
16:10 |
* |
800 by 600 |
4:3 |
|
800 by 600 |
4:3 |
stretched to fit full screen |
840 by 524 |
4:3 |
|
1024 by 640 |
16:10 |
|
1024 by 768 |
4:3 |
|
1024 by 768 |
4:3 |
stretched to fit full screen |
1280 by 800 |
16:10 |
|
1344 by 840 |
16:10 |
|
1680 by 1050 |
16:10 |
|
* not recommended |
Resolution |
Aspect ratio |
Notes |
|---|---|---|
640 by 480 |
4:3 |
|
640 by 480 |
4:3 |
stretched to fit full screen |
800 by 500 |
16:10 |
|
800 by 600 |
4:3 |
|
800 by 600 |
4:3 |
stretched to fit full screen |
1024 by 640 |
16:10 |
|
1024 by 768 |
4:3 |
|
1024 by 768 |
4:3 |
stretched to fit full screen |
1152 by 720 |
16:10 |
|
1440 by 900 |
16:10 |
Resolution |
Aspect ratio |
|---|---|
640 by 480 |
4:3 |
800 by 600 |
4:3 |
1024 by 768 |
4:3 |
Video Monitor Port
The iMac has a port for an external video monitor and supports video mirroring mode. Video mirroring mode displays the same information on both monitors, enabling the control of a presentation on one display, while allowing an audience to watch the presentation on a second display or projector.
Due to display mirroring, the external monitor could have black borders during mirroring, depending on the supported timings between the two displays and on the monitor’s selection algorithm. Both displays show full-sized images only when the display resolution for the second monitor is set to the first display’s native resolution: 1680x1050 on the 20-inch display, 1440x900 on the 17-inch display, and 1024x768 on the 15-inch display.
The external monitor supports user-selectable display sizes up to 2048x1536 at 75 Hz.
Monitor Connector
The video display connector is a 14-pin rectangular connector, Hosiden TCX3143, or compatible. The connector accepts either a VGA adapter or a composite adapter. The system requires a composite adapter to use composite output over this connector. The connector pins are identified in Table 3-3.

The pins and signals are listed in Table 3-9. An adapter is available for use with monitors with VGA 15-pin miniature D-type connectors.
Pin |
Signal name |
Pin |
Signal name |
|---|---|---|---|
1 |
Ground |
8 |
+5 volts |
2 |
VSync |
9 |
Blue video |
3 |
Hsync |
10 |
DDC data |
4 |
Red return |
11 |
DDC clock |
5 |
Red video |
12 |
Ground |
6 |
Green return |
13 |
/Cable detect |
7 |
Green video |
14 |
Blue return |
The cable detect function on pin 13 is implemented by connecting pin 13 to ground in the display cable. The computer gathers the display's capabilities by reading its EDID (Extended Display Identification Data) via DDC.
The video display connector is compliant with the VESA specification.
Video Display Adapter
The iMac detects the type of display adapter that is plugged in and programs the graphics IC to route the appropriate video signals to the connector. The signal assignments on the video connector when the composite adapter is attached are shown in Table 3-10.
Pin |
Signal name |
Pin |
Signal name |
|---|---|---|---|
1 |
Ground |
8 |
+5 volts |
2 |
n.c. |
9 |
Composite video |
3 |
n.c. |
10 |
DDC data |
4 |
Ground |
11 |
DDC clock |
5 |
S-video C |
12 |
Ground |
6 |
Ground |
13 |
Ground (for /Cable Detect) |
7 |
S-video Y |
14 |
Ground |
Composite video and S-video signals can be displayed on either an NTSC display or a PAL display. When a display is connected by way of the composite adapter, the computer detects this configuration and enables the composite and S-video outputs. The settings for the resolutions and standards (NTSC or PAL) are then selectable in System Preferences.
Keyboard
The iMac comes with an Apple Keyboard. It is a full-size keyboard with function keys and separate numeric keypad and editing sections.
The keyboard has an attached 1-meter cable and comes with a 1-meter extender cable for installations where the computer is located away from the immediate desktop area. The iMac supports the Apple wireless keyboard.
Keyboard Features
Here is a list of the features of the Apple Keyboard.
sloped design
109 keys (on the ANSI versions)
16 function keys
6 editing keys (Page Up, Page Down, Home, End, Forward Delete, and Help)
USB HID Consumer Page Usage multimedia control keys
full travel, standard pitch keys on alphanumeric, editing, and keypad sections, including function keys and cursor-position keys
localized worldwide: 33 versions, standard layouts (including: ANSI, JIS, ISO)
LED indicator on the Num Lock key
USB hub functionality with two USB 1.1 sockets
Keyboard Layout
There are localized versions of the Apple Keyboard for use in different parts of the world. The three standards used are ANSI (US and North America), JIS (Japan), and ISO (Europe).
Applications can determine which keyboard is connected by calling the Gestalt Manager and checking for the corresponding value of the gestaltKeyboardType selector.
Figure 3-4 shows the keyboard layout for the ANSI keyboard.


MultiMedia Control Keys
The keyboard has six multimedia keys: Volume Up, Volume Down, Mute, Brightness Up (F15), Brightness Down (F14), and Eject. Theses keys provide direct control of the features on the computer by way of the USB.
Keyboard and USB
The Apple Keyboard is designed to work with the computer by way of the USB ports. The keyboard has a captive cable with a USB Type A connector. The keyboard is a bus-powered USB hub with two USB Type A ports.
Apple provides a HID class driver for the Apple Keyboard, which supports the USB boot protocol. Other keyboards intended for use on the Macintosh platform must support the HID boot protocol, as defined in the USB Device Class Definition for Human Interface Devices (HIDs).
Programmer’s Switches
Key combinations for programmer’s switches that used the Power button on earlier models now use the Eject key. Here are the key combinations for the PowerMac G4 computer.
Control-Command-Eject: restart immediately (reset)
Control-Command-Option-Eject: shut down immediately
Control-Eject: display the dialog for shutdown, restart, and sleep
The key combinations are decoded in software and may not be available under some crashed conditions.
NMI without Programmer’s Switch
Current Macintosh computers do not have a programmer’s switch, which allowed users to generate a non-maskable interrupt (NMI). The paragraphs below describe how to generate an NMI from a remote session for systems that do not have a physical programmer's switch.
Starting with Mac OS X 10.1.2, the OS will promote and recognize the DB_NMI bit in the “boot-args” property of the “chosen” node from Open Firmware. When the DB_NMI bit is set, the user can generate a non-maskable interrupt (NMI) by pressing the system's power button. This replaces the power button’s sleep or wake response. The system reads the state of the bit at boot time from the boot-args configuration variable. For more information about the debug flags, please see Inside Mac OS X: Kernel Programming.
To set the DB_NMI bit, enter the following command at the Terminal to display the current debug flag settings.
% nvram boot-args |
Add the parameter debug=0x4, as follows.
% sudo nvram boot-args="<current settings> debug=0x4" |
After the DB_NMI bit is set, reboot by pressing the power button for approximately 3 seconds to generate an NMI.
The power button will retain this functionality until Mac OS X is restarted without the DB_NMI bit set. To clear this bit, issue the nvram command omitting debug=0x4 parameter, as follows.
% sudo nvram boot-args="" |
Mouse
The iMac comes with the Apple Mouse, which uses optical tracking in place of the traditional rolling ball. It works on almost any surface, though non-reflective, opaque surface without repetitive patterns work best. The iMac supports the Apple wireless mouse.
Sound System
The sound system provides sound input and output through the built-in microphone and speaker. The user can also connect external input and output devices by way of the headphone jack, the Apple Pro Speaker minijack, the USB ports, and audio line-in.
To maintain the highest fidelity when digital audio program material from CDs or DVDs is played, the audio data is kept in digital form until just before being sent to the sound output jack or the headphone jack. A switch mode power amplifier provides the power for the external speaker.
The sound system supports sample sizes up to 24 bits and sample rates of up to 48 kHz.
Sound Inputs
The sound system accepts inputs from the following sources:
the built-in microphone
digital audio from the internal optical drive
call progress audio from the internal modem
USB audio devices connected to the USB ports
audio line-in
sound input from FireWire audio devices
Built-in Microphone
The iMac has a built-in microphone located at the bottom of the display. The analog signal from the microphone is converted to a digital signal by the audio circuitry.
The nominal SNR of the internal microphone is 65 dB.
Audio Line-in
The iMac has a stereo audio line-in jack on the base. Low level consumer products operating below -10 dBu require a pre-amp.
The audio inputs are designed to accept high-level audio signals: 2 Vrms or +8 dBu, which is the standard output level from CD and DVD players. The output level of some consumer audio devices is lower, often 0.1 Vrms or –10 dBu. Sound recordings made on the iMac with such low-level devices have more noise than those made with high-level devices. The user may obtain better results by connecting an amplifier between the low-level device and the computer’s audio input jack.
The audio input jack is a 3.5 mm miniature phone jack with the signals connected as follows:
Tip |
Left-channel audio |
Ring |
Right-channel audio |
Sleeve |
Audio ground |
The sound input jack has the following electrical characteristics:
maximum input signal amplitude 2 Vrms (5.65 Vpp), +8 dBu peak
input impedance at least 47 kilohms
channel separation greater than 60 dB
recommended source impedance 2 kilohms or less
ground noise rejection greater than 40 dB
frequency response 5 Hz to 20 kHz, +0.0, –0.5 dB
distortion below –80 dB
signal to noise ratio (SNR) greater than -85 dB (unweighted)
Sound Outputs
The sound system sends computer-generated sounds to the following destinations:
internal speaker
Apple Pro Speaker minijack
stereo headphone jack
FireWire audio devices connected to FireWire ports
Internal Speaker
The iMac has a single internal speaker that operates when no external speakers are connected. The internal speaker uses a monaural mix of the left and right channels.
Apple Pro Speaker Minijack
The Apple Pro Speaker minijack is a 2.5-mm stereo minijack. It has a smaller diameter than the headphone jack so that the user cannot inadvertently plug typical headphones into it.
Headphone Jack
The iMac has a 3.5 mm minijack for stereo sound output. The headphone jack is suitable for connecting a pair of headphones or amplified external speakers. When a plug is inserted into the headphone jack, the internal speaker and the Apple Pro Speaker minijack are disconnected.
The sound output through the headphone jack has the following electrical characteristics:
output level 4.0 V peak-to-peak (1.4 V RMS), open circuit
source impedance 44 ohms
signal-to-noise (SNR) 90 dB unweighted (typical)
total harmonic distortion (THD) 0.03% or less
Sound Specifications
The frequency response of the sound circuits, not including the microphone and speakers, is within plus 1 dB or minus 3 dB from 20 Hz to 20 kHz.
Total harmonic distortion plus noise (THD+N) as a percentage of full scale are shown in Table 3-11.
Connector and level |
THD+N |
|---|---|
Headphone jack, open circuit |
0.03% |
Headphone jack, 32-ohm headphones |
0.5% |
The signal-to-noise ratios (SNR) for various inputs and outputs are shown in Table 3-12. The values shown are unweighted.
Connector |
Signal-to-noise ratio |
|---|---|
Microphone |
65 dB |
Headphone jack |
90 dB |
Internal CD or DVD |
90 dB |
Line-in jack |
>= 85 dB SNR |
Copyright © 2000, 2003 Apple Computer, Inc. All Rights Reserved. Terms of Use | Privacy Policy | Updated: 2003-12-11